Запчасти Komatsu PC40-7ПРОТЕКТОР (С ЗАДН. ПРОТЕКТОР) ЧАСТИ КОРПУСА

Схема запчастей Komatsu PC40-7 -  ПРОТЕКТОР (С ЗАДН. ПРОТЕКТОР) ЧАСТИ КОРПУСА
FIT
1:1
100%

Артикул

Название

Примечание

Количество

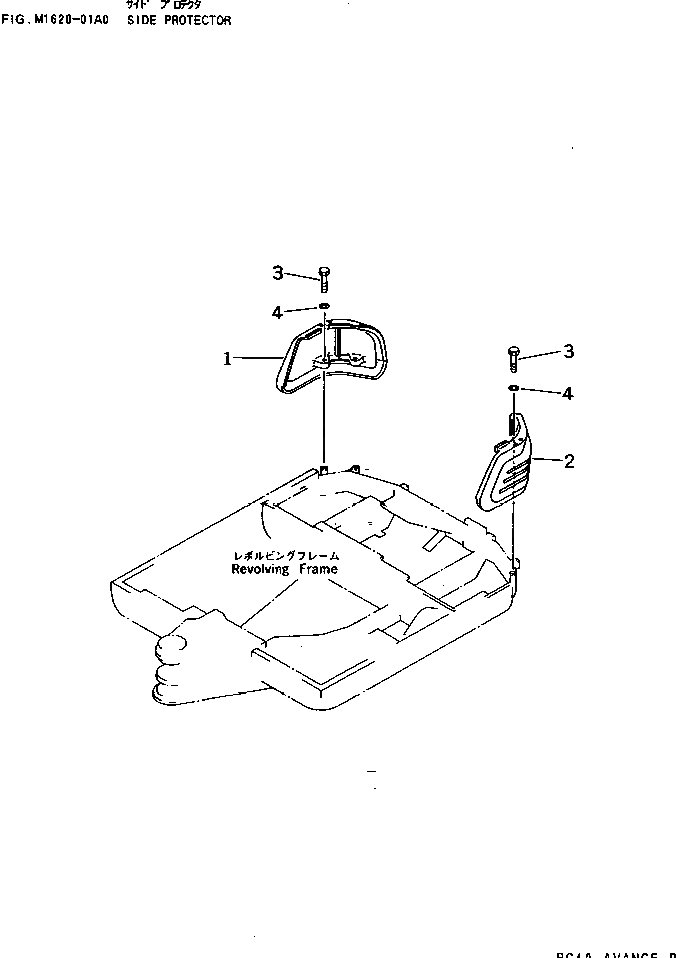
1

20T-46-77630

PROTECTOR,R.H.

2

20T-46-77620

PROTECTOR,L.H.

3

01010-51655

BOLT

4

01643-31645

WASHER

Выбрано товаров: 0