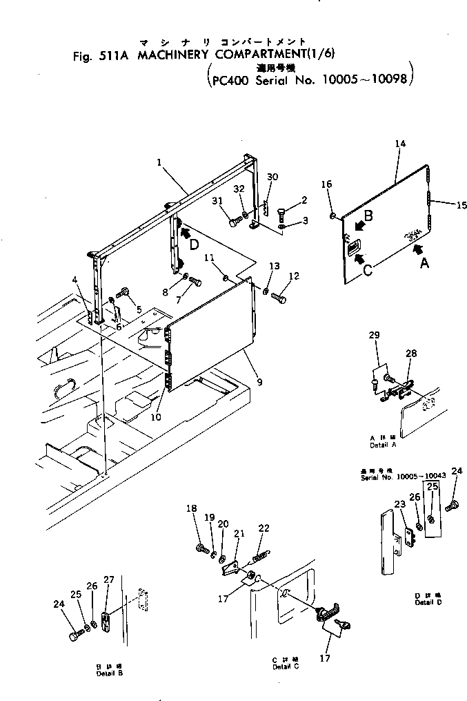
Запчасти Komatsu PC400-1 MACHINERY ОБСТАНОВКА (/)(№-98) ОСНОВНАЯ РАМА И КАБИНА

Схема запчастей Komatsu PC400-1 - MACHINERY ОБСТАНОВКА (/)(№-98) ОСНОВНАЯ РАМА И КАБИНА
FIT
1:1
100%

Артикул

Название

Примечание

Количество

1

208-54-12342

FRAME

2

01010-31230

BOLT

2

01010-31230

BOLT

3

01643-31232

WASHER

3

01643-31232

WASHER

4

205-54-55390

SHIM, 1.0MM

5

01010-31230

BOLT

6

01643-31232

WASHER

7

01010-31230

BOLT

8

01643-31232

WASHER

9

208-54-12311

DOOR

10

205-54-52350

HINGE (WELDED)

11

04431-30000

PLATE

12

01010-31230

BOLT

13

01643-31232

WASHER

14

208-54-12321

DOOR

15

205-54-52350

HINGE (WELDED)

16

04431-30000

PLATE

17

21T-54-12310

HANDLE

18

01010-30820

BOLT

19

01602-00825

WASHER,SPRING

20

01643-30823

WASHER

21

21T-54-12320

PLATE

22

135-43-14520

SPRING

23

205-54-51970

DOVE TAIL

24

01010-30620

BOLT

25

01602-00619

WASHER,SPRING

26

01643-30623

WASHER

27

205-54-53550

DOVE TAIL

28

208-54-12450

STAY

29

01225-30510

SCREW

30

205-54-55390

SHIM, 1.0MM

31

01010-31230

BOLT

32

01643-31232

WASHER

Выбрано товаров: 34