Запчасти Komatsu PC400-1 КАБИНА (/)(№99-) ОСНОВНАЯ РАМА И КАБИНА

Схема запчастей Komatsu PC400-1 - КАБИНА (/)(№99-) ОСНОВНАЯ РАМА И КАБИНА
FIT
1:1
100%

Артикул

Название

Примечание

Количество

|$0

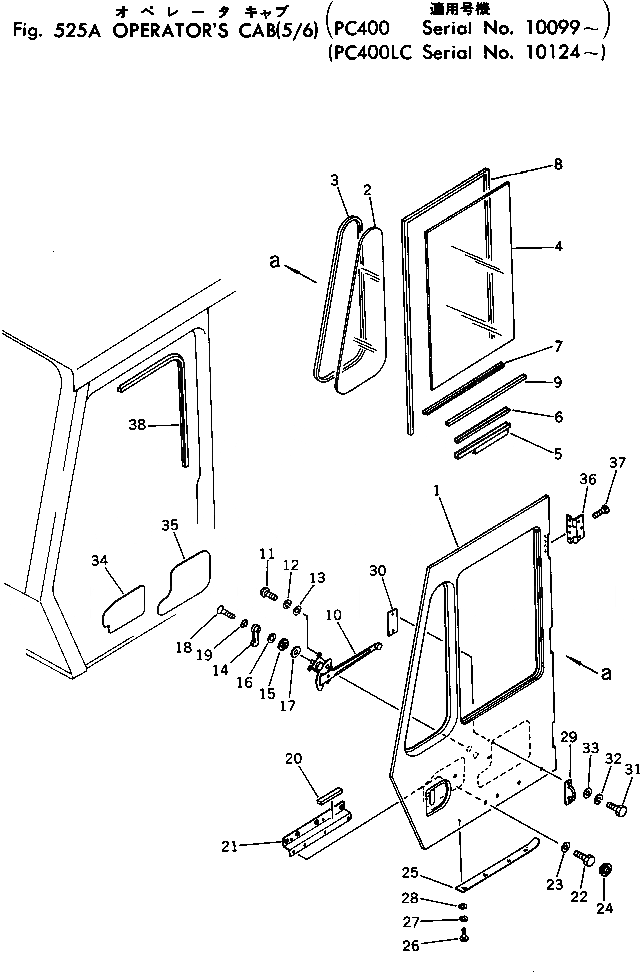
205-54-00161

OPERATOR'S CAB ASS'Y,(FOR BACKHOE)

|$1

205-54-00160

OPERATOR'S CAB ASS'Y,(FOR BACKHOE)

|$2

208-54-00070

OPERATOR'S CAB ASS'Y,(FOR LOADER)

|$3

205-54-00210

DOOR ASS'Y

1

205-54-66131

DOOR

2

205-54-66830

GLASS

3

205-54-66910

STRIP,WEATHER

4

205-54-66760

GLASS

5

205-54-66770

CHANNEL

6

205-54-66850

SEAT

7

205-54-66940

SEAL

8

205-54-66860

SEAL

9

205-54-66950

SEAL

10

205-54-66730

REGULATOR

11

01220-40612

SCREW

12

01602-20619

WASHER,SPRING

13

01641-20608

WASHER

14

205-54-66680

HANDLE ASS'Y

15

566-54-24260

BASE

16

566-54-24270

ESCUTCHEON

17

205-54-66690

SEAL

18

01224-40516

SCREW

19

205-54-53710

WASHER

20

205-54-66980

STOPPER

21

205-54-67460

BRACKET

22

01010-50820

BOLT

23

01643-30823

WASHER

24

205-54-67980

GROMMET

25

205-54-66390

COVER

26

01220-40412

SCREW

27

01602-20619

WASHER,SPRING

28

01641-20608

WASHER

29

205-54-66960

STRIKER

30

205-54-66970

PLATE

31

01010-50820

BOLT

32

01602-20825

WASHER,SPRING

33

01643-30823

WASHER

34

205-54-67380

SEAL

35

205-54-67390

SEAL

36

205-54-67950

HINGE ASS'Y

37

205-54-68510

SCREW

38

205-54-66990

SEAL

Выбрано товаров: 42