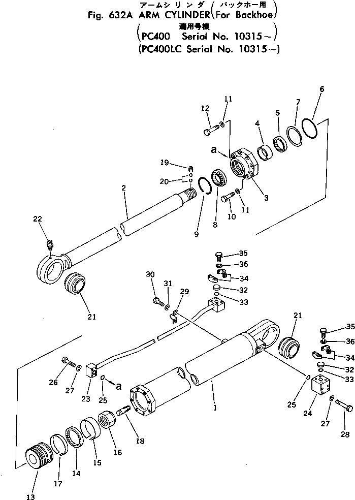
Запчасти Komatsu PC400-1 ЦИЛИНДР РУКОЯТИ(ДЛЯ ЭКСКАВАТ.)(№-) УПРАВЛ-Е РАБОЧИМ ОБОРУДОВАНИЕМ

Схема запчастей Komatsu PC400-1 - ЦИЛИНДР РУКОЯТИ(ДЛЯ ЭКСКАВАТ.)(№-) УПРАВЛ-Е РАБОЧИМ ОБОРУДОВАНИЕМ
FIT
1:1
100%

Артикул

Название

Примечание

Количество

|$0

208-63-66300

CYLINDER ASS'Y

1

208-63-66340

CYLINDER

2

208-63-66320

ROD,PISTON

3

707-27-20120

HEAD

4

07177-01240

BUSHING

5

707-51-12110

PACKING

6

07000-15190

O-RING

7

07146-05192

RING,BACK-UP

8

195-63-93170

SEAL,DUST

9

707-75-12010

RING,SNAP

10

01011-83005

BOLT

11

01643-33080

WASHER

12

01011-83030

BOLT

13

707-36-20360

PISTON

14

707-44-20080

RING,PISTON

15

07155-02045

RING,WEAR

16

07165-18583

NUT

17

07156-02022

RING,WEAR

18

707-71-50350

SCREW

19

209-63-66290

SCREW

20

04260-00952

BALL

21

707-46-11010

BUSHING

22

07020-00900

FITTING,GREASE

23

208-63-66380

TUBE

24

208-63-66280

ELBOW

25

07000-13035

O-RING

26

01010-51070

BOLT

27

01602-21030

WASHER,SPRING

28

01011-51000

BOLT

29

07282-03411

CLAMP

30

01010-51020

BOLT

31

01602-21030

WASHER

32

07378-11200

HEAD

33

07000-13038

O-RING

34

07371-31255

FLANGE,SPLIT

35

07372-21035

BOLT

36

01602-21030

WASHER,SPRING

Выбрано товаров: 37