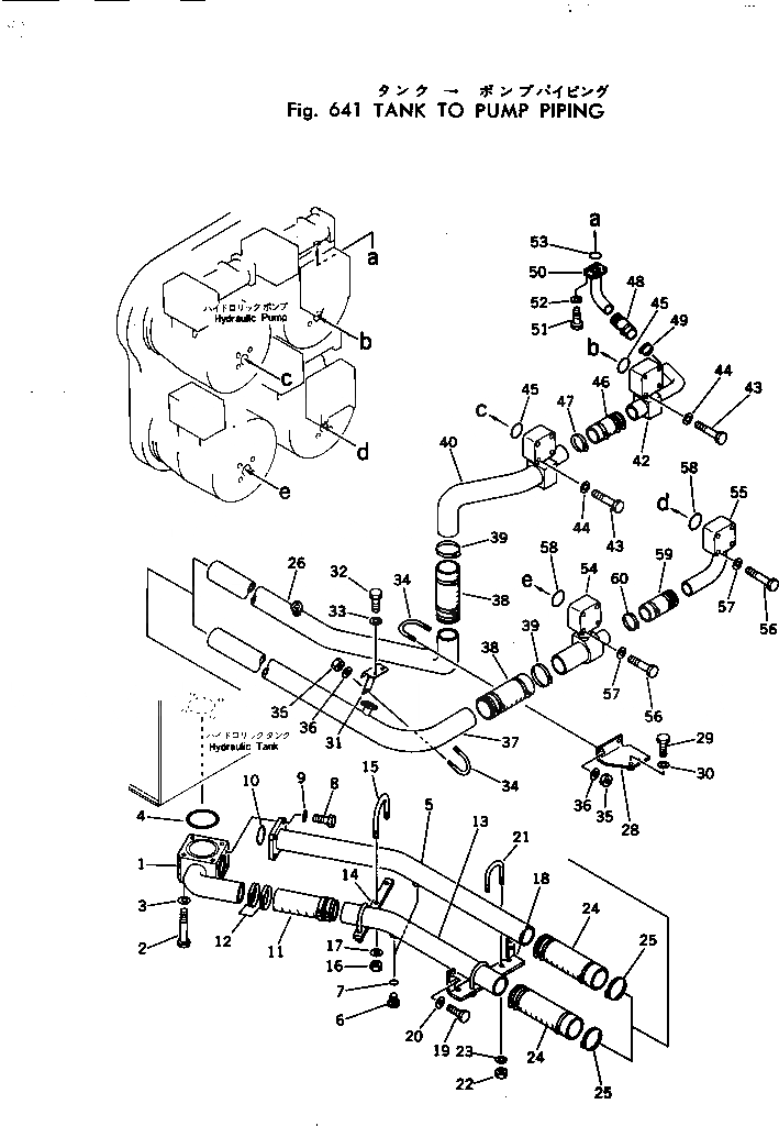
Запчасти Komatsu PC400-1 ИЗ БАКА В НАСОС ТРУБЫ УПРАВЛ-Е РАБОЧИМ ОБОРУДОВАНИЕМ

Схема запчастей Komatsu PC400-1 - ИЗ БАКА В НАСОС ТРУБЫ УПРАВЛ-Е РАБОЧИМ ОБОРУДОВАНИЕМ
FIT
1:1
100%

Артикул

Название

Примечание

Количество

1

208-62-11392

TUBE

2

01011-51230

BOLT

3

01643-31232

WASHER

4

07000-02105

O-RING

5

208-62-11411

TUBE

6

07040-11812

PLUG

7

07002-01823

O-RING

8

01010-51240

BOLT

9

01643-31232

WASHER

10

07000-02080

O-RING

11

07260-27432

HOSE

12

20D-09-11130

CLAMP

12

07281-11029

CLAMP

12

20D-09-11130

CLAMP

13

208-62-11281

TUBE

14

208-62-11490

PLATE

15

07283-27663

CLIP

16

01599-01011

NUT

17

01643-31032

WASHER

18

208-62-11381

BRACKET

19

01010-51230

BOLT

20

01643-31232

WASHER

21

07283-27663

CLIP

22

01599-01011

NUT

23

01643-31032

WASHER

24

07260-27432

HOSE

25

20D-09-11130

CLAMP

25

07281-11029

CLAMP

25

20D-09-11130

CLAMP

26

208-62-11142

TUBE

28

208-62-11511

BRACKET

29

01010-51225

BOLT

30

01643-31232

WASHER

31

208-62-11520

BRACKET

32

01010-51230

BOLT

33

01643-31232

WASHER

34

07283-37663

CLIP

35

01599-01011

NUT

36

01643-31032

WASHER

37

208-62-11232

TUBE

38

07260-27432

HOSE

39

20D-09-11130

CLAMP

40

208-62-11561

TUBE

42

208-62-11531

TUBE

43

01010-51285

BOLT

44

01643-31232

WASHER

45

07000-02065

O-RING

46

07260-25828

HOSE

47

208-09-11120

CLAMP

47

07281-10809

CLAMP

47

208-09-11120

CLAMP

48

07260-23214

HOSE

49

207-09-11110

CLAMP

49

07281-10489

CLAMP

49

207-09-11110

CLAMP

50

208-62-11162

TUBE

51

01010-51030

BOLT

52

01643-51032

WASHER

52

01602-21030

WASHER,SPRING

53

07000-03042

O-RING

54

208-62-11591

TUBE

55

208-62-11631

TUBE

56

01010-51285

BOLT

57

01643-31232

WASHER

58

07000-02065

O-RING

59

07260-24720

HOSE

60

208-09-11110

CLAMP

60

07281-10709

CLAMP

60

208-09-11110

CLAMP

Выбрано товаров: 69