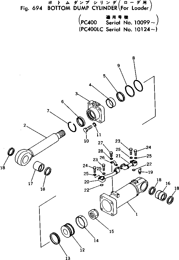
Запчасти Komatsu PC400-1 НИЖН. ГИДРОЦИЛИНДР КОВША (ДЛЯ ПОГРУЗ.) УПРАВЛ-Е РАБОЧИМ ОБОРУДОВАНИЕМ

Схема запчастей Komatsu PC400-1 - НИЖН. ГИДРОЦИЛИНДР КОВША (ДЛЯ ПОГРУЗ.) УПРАВЛ-Е РАБОЧИМ ОБОРУДОВАНИЕМ
FIT
1:1
100%

Артикул

Название

Примечание

Количество

|$0

208-63-95300

CYLINDER ASS'Y,L.H.

|$1

208-63-95400

CYLINDER ASS'Y,R.H.

1

208-63-95340

CYLINDER

2

208-63-95120

ROD,PISTON

3

205-63-65132

HEAD

4

07177-01040

BUSHING

5

707-51-10211

PACKING

6

176-63-56170

SEAL,DUST

7

07179-00123

RING,SNAP

8

07000-12145

O-RING

9

07146-02146

RING,BACK-UP

10

01011-83000

BOLT

11

01601-23075

WASHER

12

205-63-65171

PISTON

13

707-44-15080

RING,PISTON

14

07155-01535

RING,WEAR

15

07165-16870

NUT

16

707-76-80010

BUSHING

17

205-63-65271

BUSHING

18

07145-00080

SEAL,DUST

19

07020-00675

FITTING

20

208-63-95390

TUBE,L.H.

20

208-63-95490

TUBE,R.H.

21

208-63-95380

TUBE,L.H.

21

208-63-95480

TUBE,R.H.

22

07000-13035

O-RING

23

01010-51060

BOLT

24

01010-51055

BOLT

25

01643-31032

WASHER

26

07282-03411

CLAMP

27

01010-51020

BOLT

28

01643-31032

WASHER

Выбрано товаров: 32