Запчасти Komatsu PC400-1 ПАНЕЛЬ ПРИБОРОВ (/)(№99-) КОМПОНЕНТЫ ДВИГАТЕЛЯ И ЭЛЕКТРИКА

Схема запчастей Komatsu PC400-1 - ПАНЕЛЬ ПРИБОРОВ (/)(№99-) КОМПОНЕНТЫ ДВИГАТЕЛЯ И ЭЛЕКТРИКА
FIT
1:1
100%

Артикул

Название

Примечание

Количество

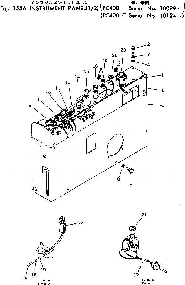
1

208-06-12230

PANEL

2

205-06-62170

BOLT

3

205-06-62180

WASHER

4

205-06-62190

WASHER

5

205-06-62421

COVER

6

205-06-62431

COVER

7

01010-50820

BOLT

7

01010-50820

BOLT

8

01643-30823

WASHER

8

01643-30823

WASHER

9

207-06-11431

GAUGE,AIR PRESSURE

10

208-06-11280

GAUGE,WATER TEMPERATURE

11

125-06-22210

LAMP,OIL PRESSURE

11

08111-02430

BULB, 3W

12

125-06-22220

LAMP,CHARGE

12

207-06-11760

LAMP,CHARGE

12

08111-02430

BULB, 3W

12

08111-01230

BULB, 4W

13

600-815-2490

SIGNAL,HEATER

14

207-06-11770

SWITCH,STARTING

15

08061-40010

SWITCH,LAMP

16

195-822-6151

LIGHTER

17

01220-40412

SCREW

18

01601-20410

WASHER,SPRING

19

01641-20405

WASHER

20

09481-02400

SWITCH,HEATER

21

08183-00000

SWITCH,WIPER

22

205-06-61290

WIRE ASS'Y

23

08687-22401

METER

Выбрано товаров: 29