Запчасти Komatsu PC400-1 CAR ЛИНИЯ ОХЛАЖДЕНИЯ (/)(№-98) ОПЦИОННЫЕ КОМПОНЕНТЫ

Схема запчастей Komatsu PC400-1 - CAR ЛИНИЯ ОХЛАЖДЕНИЯ (/)(№-98) ОПЦИОННЫЕ КОМПОНЕНТЫ
FIT
1:1
100%

Артикул

Название

Примечание

Количество

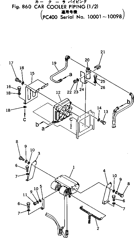
1

205-981-5110

COOLING UNIT

2

205-981-5170

HOSE

3

206-988-2150

BRACKET

4

206-988-2140

BRACKET

5

205-981-5350

BRACKET

6

01010-31230

BOLT

7

01643-31232

WASHER

8

01010-30820

BOLT

9

01602-00825

WASHER

10

01643-30823

WASHER

11

01580-00806

NUT

12

205-981-5120

CONDENSER UNIT

13

01010-30825

BOLT

14

01602-00825

WASHER,SPRING

15

208-978-1120

COVER

16

01010-31230

BOLT

17

01010-31240

BOLT

18

01643-31232

WASHER

19

09488-20509

HOSE

20

566-70-11240

RECEIVER DRYER

21

07283-26155

CLIP

22

01599-01011

NUT

23

01643-31032

WASHER

24

205-981-5360

BRACKET

25

01010-31230

BOLT

26

01643-31232

WASHER

Выбрано товаров: 0