Запчасти Komatsu PC400-1 ПРЕДУПРЕЖД. ПЕРЕГРУЗКИ (/) (T.B.G. СПЕЦ-Я.) ОПЦИОННЫЕ КОМПОНЕНТЫ (СПЕЦ. APPLICATION ЧАСТИ)

Схема запчастей Komatsu PC400-1 - ПРЕДУПРЕЖД. ПЕРЕГРУЗКИ (/) (T.B.G. СПЕЦ-Я.) ОПЦИОННЫЕ КОМПОНЕНТЫ (СПЕЦ. APPLICATION ЧАСТИ)
FIT
1:1
100%

Артикул

Название

Примечание

Количество

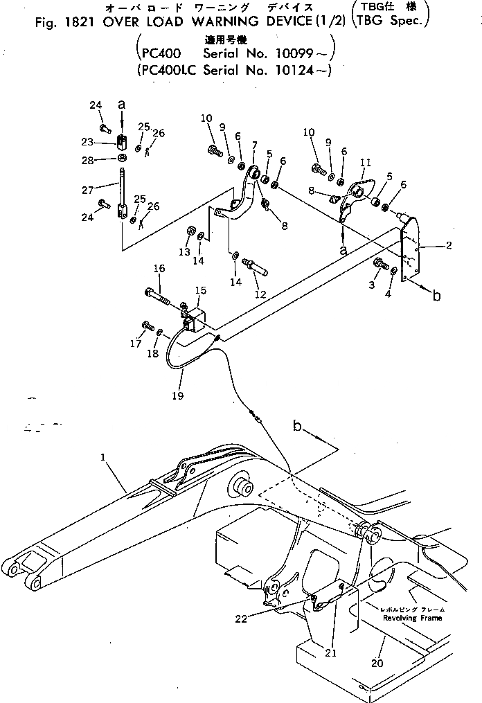
1

208-70-15110

BOOM

2

208-70-15130

BRACKET

3

01010-51435

BOLT

4

01643-31445

WASHER

5

06120-03020

BEARING

6

06122-03004

SEAL

7

208-70-15140

LEVER

8

07020-00000

FITTING,GREASE

9

205-70-65890

WASHER

10

01010-51225

BOLT

11

208-70-15120

CAM

12

207-70-14250

PIN

13

01580-11613

NUT

14

01643-31645

WASHER

15

205-62-69240

SWITCH

16

01252-40616

BOLT

17

01220-40612

SCREW

18

01602-20619

WASHER,SPRING

19

208-06-18240

WIRING

20

205-06-62611

WIRE

21

205-06-62651

WIRE ASS'Y

22

08147-22400

LAMP

22

08111-02430

BULB, 3W

23

04211-21055

YOKE

24

04205-11028

PIN

25

01641-21016

WASHER

26

04050-13020

PIN,COTTER

27

04244-11025

ROD

28

01582-11008

NUT

Выбрано товаров: 0