Запчасти Komatsu PC400-1 ЭЛЕКТРИКА(№-) КОМПОНЕНТЫ ДВИГАТЕЛЯ И ЭЛЕКТРИКА

Схема запчастей Komatsu PC400-1 - ЭЛЕКТРИКА(№-) КОМПОНЕНТЫ ДВИГАТЕЛЯ И ЭЛЕКТРИКА
FIT
1:1
100%

Артикул

Название

Примечание

Количество

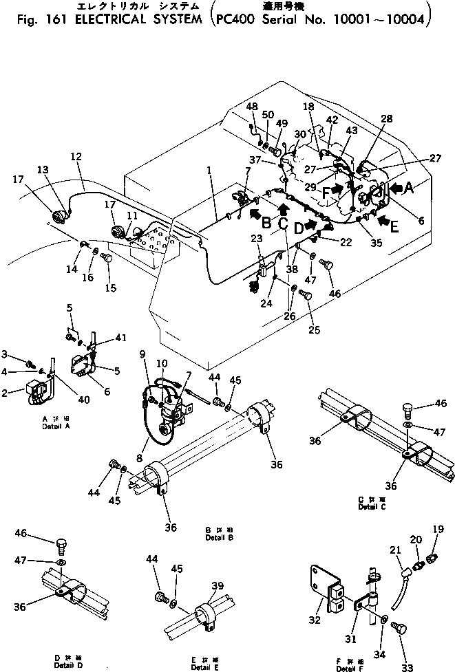
1

208-06-11410

WIRE ASS'Y

2

600-824-8110

SAFETY RELAY A.,SAFETY

3

01010-30616

BOLT

4

01602-00619

WASHER,SPRING

5

600-822-5110

REGULATOR ASS'Y

6

207-06-11840

WIRE ASS'Y

7

205-06-51340

VALVE

8

205-06-51350

WIRE

9

01010-30816

BOLT

10

01602-00825

WASHER,SPRING

11

205-06-51390

CABLE

12

208-06-11351

WIRE

13

205-06-51390

CABLE

14

203-06-21290

PLATE

15

01010-31430

BOLT

16

01643-31445

WASHER

17

08128-32400

LAMP

17

08113-02480

BULB, 80W

17

08128-00003

HOLDER

18

08620-00000

SENSOR

19

232-06-52390

NIPPLE

20

08073-00505

SWITCH,OIL PRESSURE

20

08073-00510

SWITCH,OIL PRESSURE

21

08038-00519

CAP

22

208-06-11380

WIRE ASS'Y

23

206-54-15750

SEAL

24

08028-15150

WIRE, 1500MM

25

01010-31020

BOLT

26

01643-31032

WASHER

27

08038-02027

CAP

28

08038-00035

CAP

29

08038-00519

CAP

30

08038-02027

CAP

31

113-04-22180

CLIP

32

208-06-12210

BRACKET

33

01010-31220

BOLT

34

01643-31232

WASHER

35

08034-00519

BAND

36

155-61-15350

CLIP

37

208-06-12120

CLIP

38

208-06-12130

CLIP

39

08036-03014

CLIP

40

208-06-12150

CLIP

41

208-06-12160

CLIP

42

08036-11214

CLIP

43

08036-10814

CLIP

44

01010-31220

BOLT

45

01643-31232

WASHER

46

01010-31220

BOLT

47

01643-31232

WASHER

48

08028-15055

WIRE, 550MM

49

01010-31020

BOLT

50

01643-31032

WASHER

Выбрано товаров: 53