Запчасти Komatsu PC400-1 MACHINERY ОБСТАНОВКА (T.B.G. СПЕЦ-Я.) ОПЦИОННЫЕ КОМПОНЕНТЫ (СПЕЦ. APPLICATION ЧАСТИ)

Схема запчастей Komatsu PC400-1 - MACHINERY ОБСТАНОВКА (T.B.G. СПЕЦ-Я.) ОПЦИОННЫЕ КОМПОНЕНТЫ (СПЕЦ. APPLICATION ЧАСТИ)
FIT
1:1
100%

Артикул

Название

Примечание

Количество

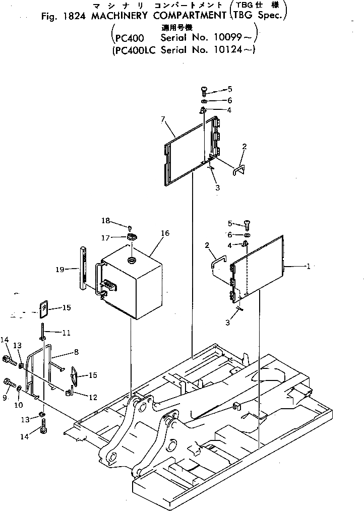
1

208-54-13550

DOOR

2

205-54-64140

BAR

3

04050-13018

PIN,COTTER

4

20B-54-12210

SPRING

5

01220-40408

SCREW

6

01641-20405

WASHER

7

208-54-13560

DOOR

8

208-54-13570

HANDLE

9

01010-51225

BOLT

10

01643-31232

WASHER

11

205-54-67141

SUPPORT

12

205-54-68480

SUPPORT

13

207-54-17840

CLAMP

14

01252-41025

BOLT

15

08174-33023

MIRROR

16

208-04-11280

TANK

17

07091-11200

CAP

18

209-98-11150

KEY

19

208-04-11270

COVER

Выбрано товаров: 19