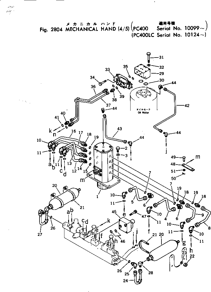
Запчасти Komatsu PC400-1 МЕХАНИЧ. HAND (/) ОПЦИОННЫЕ КОМПОНЕНТЫ (СПЕЦ. APPLICATION ЧАСТИ)

Схема запчастей Komatsu PC400-1 - МЕХАНИЧ. HAND (/) ОПЦИОННЫЕ КОМПОНЕНТЫ (СПЕЦ. APPLICATION ЧАСТИ)
FIT
1:1
100%

Артикул

Название

Примечание

Количество

1

703-12-23900

SWIVEL JOINT ASS'Y

2

01010-51655

BOLT

3

01643-31645

WASHER

4

208-936-2110

TUBE

5

208-936-3190

TUBE

6

07235-10522

ELBOW

7

07002-12434

O-RING

8

208-936-3170

TUBE

9

208-936-3180

TUBE

10

07235-10522

ELBOW

11

07002-12434

O-RING

12

208-936-2130

TUBE

13

208-936-2120

TUBE

14

07235-10522

ELBOW

15

07002-12434

O-RING

16

208-936-2140

TUBE

17

208-936-2150

TUBE

18

07230-10522

UNION

19

07002-12434

O-RING

20

208-936-3150

ACCUMULATOR ASS'Y

21

07283-31185

CLIP

22

01599-01214

NUT

23

01643-31232

WASHER

24

208-936-3140

TUBE

25

07235-10522

ELBOW

26

07002-12434

O-RING

27

208-936-3160

TUBE

28

575-41-17140

ELBOW

29

208-936-2210

BLOCK

30

07000-13042

O-RING

31

01011-51220

BOLT

32

01643-31232

WASHER

33

208-936-2190

VALVE

34

01252-40875

BOLT

35

07000-13025

O-RING

36

208-936-2160

TUBE

37

208-936-2170

TUBE

38

208-936-2180

NIPPLE

39

07000-13024

O-RING

40

07230-10315

UNION

41

07002-12034

O-RING

42

208-936-1870

TUBE

43

208-936-1860

TUBE

44

482-60-13521

ELBOW

45

208-936-1990

VALVE

46

07000-12018

O-RING

47

01252-41075

BOLT

48

201-60-11240

LINK

49

04205-11648

PIN

50

04050-14028

PIN,COTTER

51

01641-21626

WASHER

Выбрано товаров: 51