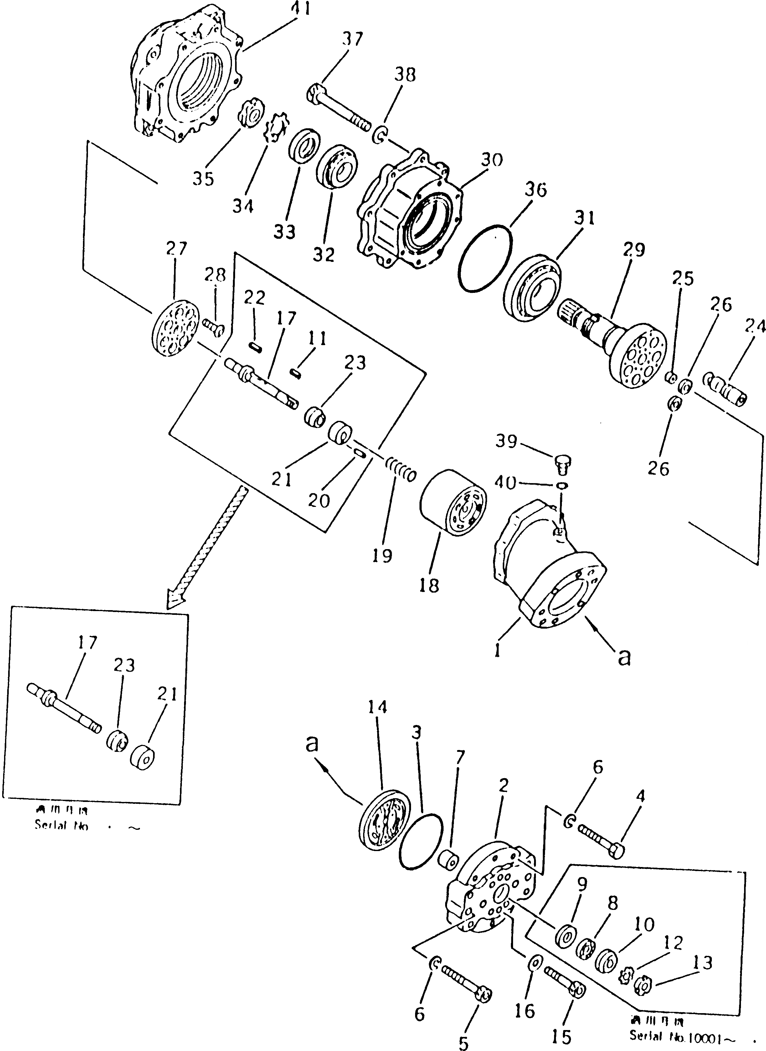
Запчасти Komatsu PC400-1 МОТОР ХОДА (КРОМЕ ЯПОН.) ХОД И КОНЕЧНАЯ ПЕРЕДАЧА

Схема запчастей Komatsu PC400-1 - МОТОР ХОДА (КРОМЕ ЯПОН.) ХОД И КОНЕЧНАЯ ПЕРЕДАЧА
FIT
1:1
100%

Артикул

Название

Примечание

Количество

|$0

706-77-00800

MOTOR ASS'Y

|$1

706-77-42001

MOTOR ASS'Y

|$2

706-77-42000

MOTOR ASS'Y

1

CASE

2

COVER

2

COVER

3

O-RING (KIT)

4

BOLT

5

BOLT

6

WASHER

7

BEARING

8

BEARING

9

PLATE

10

HOLDER

11

KEY

12

LOCK

13

NUT

14

PLATE

14

PLATE

15

BOLT (KIT)

16

GASKET (KIT)

17

SHAFT (KIT)

17

SHAFT

18

BLOCK (KIT)

18

BLOCK

19

SPRING (KIT)

19

SPRING

20

PIN

21

PLATE (KIT)

21

PLATE

22

KEY

23

SEAT (KIT)

23

SEAT

24

PISTON SUB ASS'Y (KIT)

25

BALL (KIT)

25

BALL

26

HOLDER (KIT)

27

RETAINER (KIT)

28

SCREW (KIT)

29

SHAFT (KIT)

30

COVER

31

BEARING (KIT)

32

BEARING

33

RING

34

WASHER (KIT)

35

NUT

36

O-RING (KIT)

37

BOLT

38

WASHER

39

07040-12012

PLUG

40

07002-02034

O-RING

41

706-77-90000

PARKING BRAKE ASS'Y

1K

706-98-05010

DRIVE SHAFT KIT

3

O-RING

15

BOLT

16

GASKET

17

SHAFT

18

BLOCK

19

SPRING

21

PLATE

23

SEAT

24

PISTON SUB ASS'Y

25

BALL

26

HOLDER

27

RETAINER

28

SCREW

29

SHAFT

31

BEARING

34

WASHER

36

O-RING

36

O-RING,(NOT SHOWN)

36

SEAL,(NOT SHOWN)

Выбрано товаров: 72