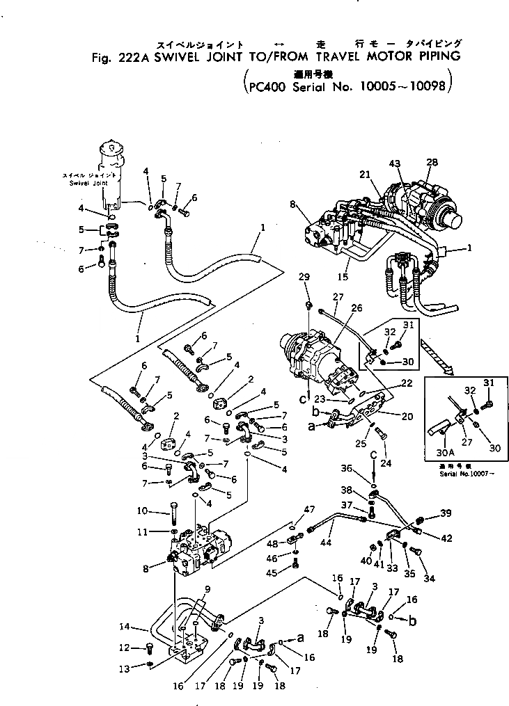
Запчасти Komatsu PC400-1 ПОВОРОТНОЕ СОЕДИНЕНИЕ TO/FROM ХОД ТРУБЫ(№-98) ХОД И КОНЕЧНАЯ ПЕРЕДАЧА

Схема запчастей Komatsu PC400-1 - ПОВОРОТНОЕ СОЕДИНЕНИЕ TO/FROM ХОД ТРУБЫ(№-98) ХОД И КОНЕЧНАЯ ПЕРЕДАЧА
FIT
1:1
100%

Артикул

Название

Примечание

Количество

1

208-62-14492

HOSE

2

208-62-14580

FLANGE

3

208-62-14510

TUBE

4

07000-13032

O-RING

5

07371-21049

FLANGE,SPLIT

6

07372-01035

BOLT

7

01643-51032

WASHER

7

01602-01030

WASHER,SPRING

8

706-77-70301

BRAKE VALVE ASS'Y

8

706-77-70300

BRAKE VALVE ASS'Y

9

07000-13035

O-RING

10

01011-31455

BOLT

11

01643-31445

WASHER

12

01010-31455

BOLT

13

01643-31445

WASHER

14

208-62-14342

TUBE,L.H.

14

208-62-14341

TUBE,L.H.

15

208-62-14352

TUBE,R.H.

15

208-62-14351

TUBE,R.H.

16

07000-13032

O-RING

17

07371-21049

FLANGE,SPLIT

18

07372-01035

BOLT

19

01643-51032

WASHER

19

01602-01030

WASHER,SPRING

20

208-62-14542

TUBE,L.H.

20

208-62-14540

TUBE,L.H.

21

208-62-14552

TUBE,R.H.

21

208-62-14550

TUBE,R.H.

22

07000-02055

O-RING

23

07000-13035

O-RING

24

01010-31460

BOLT

25

01643-31445

WASHER

26

706-77-00800

MOTOR ASS'Y

27

208-62-14281

TUBE,L.H.

28

208-62-14291

TUBE,R.H.

29

176-43-41350

ELBOW

30

07042-30108

PLUG

30A

208-62-14750

BRACKET

31

01010-31230

BOLT

31

01010-31225

BOLT

32

01643-31232

WASHER

33

208-62-14610

BRACKET

34

01010-31230

BOLT

35

01643-31232

WASHER

36

07000-12016

O-RING

37

01010-31045

BOLT

38

01602-01030

WASHER,SPRING

39

07283-21529

CLIP

40

01598-00809

NUT

41

01643-30823

WASHER

42

208-62-14231

TUBE,L.H.

43

208-62-14241

TUBE,R.H.

44

07121-40204

HOSE

45

01010-30835

BOLT

46

01643-50823

WASHER

46

01602-00825

WASHER,SPRING

47

07000-12016

O-RING

48

208-62-14420

TUBE

Выбрано товаров: 58