Запчасти Komatsu PC400-1 МЕХАНИЗМ ПОВОРОТА (/)(№99-) ПОВОРОТН. И СИСТЕМА УПРАВЛЕНИЯS

Схема запчастей Komatsu PC400-1 - МЕХАНИЗМ ПОВОРОТА (/)(№99-) ПОВОРОТН. И СИСТЕМА УПРАВЛЕНИЯS
FIT
1:1
100%

Артикул

Название

Примечание

Количество

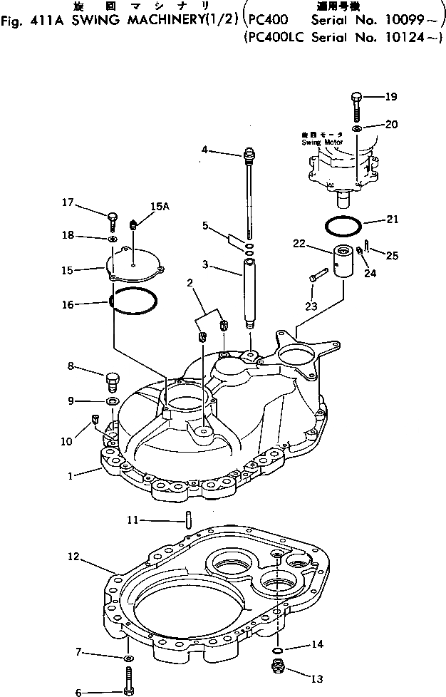
1

208-26-11112

CASE

2

07049-02025

PLUG

3

205-26-61110

FILLER

4

207-26-11320

GAUGE

4

205-26-61120

GAUGE

5

07000-03022

O-RING

6

01010-51650

BOLT

7

01643-31645

WASHER

8

01011-52425

BOLT

9

01643-32460

WASHER

10

07049-01620

PLUG

11

04020-01638

PIN,DOWEL

12

208-26-11121

CASE

13

07044-13620

PLUG

14

07002-03634

O-RING

15

208-26-11132

COVER

15A

07042-10108

PLUG

16

07000-05185

O-RING

17

01010-51230

BOLT

18

01643-31232

WASHER

19

01010-51655

BOLT

20

01643-31645

WASHER

21

07000-02135

O-RING

22

207-26-11190

COUPLING

23

706-77-90160

PIN

24

01641-00812

WASHER

25

04050-02012

PIN,COTTER

Выбрано товаров: 0