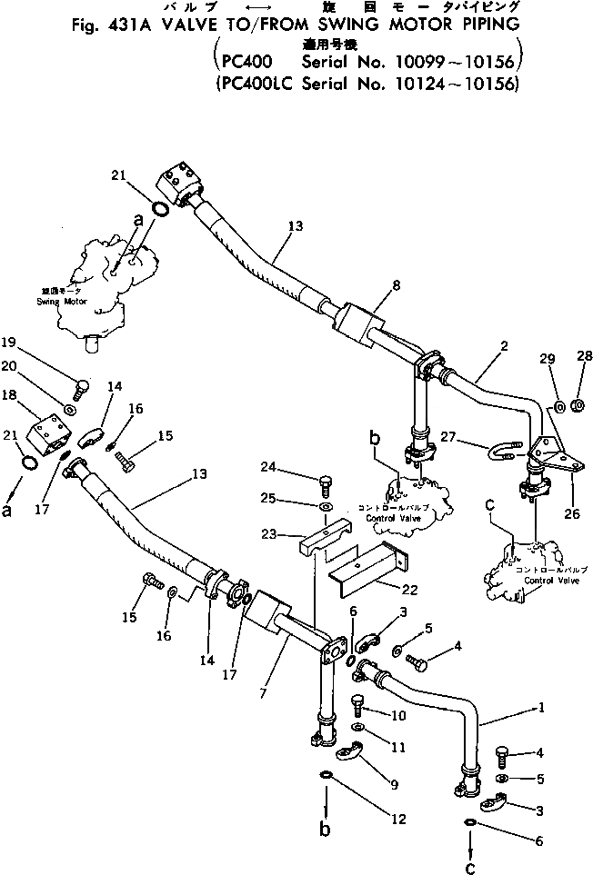
Запчасти Komatsu PC400-1 КЛАПАН TO/FROM МОТОР ПОВОРОТА ТРУБЫ(№99-) ПОВОРОТН. И СИСТЕМА УПРАВЛЕНИЯS

Схема запчастей Komatsu PC400-1 - КЛАПАН TO/FROM МОТОР ПОВОРОТА ТРУБЫ(№99-) ПОВОРОТН. И СИСТЕМА УПРАВЛЕНИЯS
FIT
1:1
100%

Артикул

Название

Примечание

Количество

1

208-62-13312

TUBE

2

208-62-13332

TUBE

3

07371-31049

FLANGE,SPLIT

4

07372-21035

BOLT

5

01643-51032

WASHER

6

07000-13032

O-RING

7

208-62-13322

TUBE

8

208-62-13342

TUBE

9

07371-31049

FLANGE,SPLIT

10

07372-21035

BOLT

11

01643-51032

WASHER

12

07000-13032

O-RING

13

07127-01005

HOSE

14

07371-31049

FLANGE,SPLIT

15

07372-21035

BOLT

16

01643-51032

WASHER

17

07000-13032

O-RING

18

208-62-14820

ELBOW

19

01010-51070

BOLT

20

01643-31032

WASHER

21

07000-13032

O-RING

22

208-62-13652

CLAMP

23

209-62-19450

CLAMP

24

01010-51270

BOLT

25

01643-31232

WASHER

26

208-62-16660

BRACKET

27

07283-23442

CLIP

28

01599-01011

NUT

29

01643-31032

WASHER

Выбрано товаров: 29