Запчасти Komatsu PC400-1 КЛАПАН РЫЧАГ УПРАВЛ-Я И МЕХАНИЗМ (/)(№99-) ПОВОРОТН. И СИСТЕМА УПРАВЛЕНИЯS

Схема запчастей Komatsu PC400-1 - КЛАПАН РЫЧАГ УПРАВЛ-Я И МЕХАНИЗМ (/)(№99-) ПОВОРОТН. И СИСТЕМА УПРАВЛЕНИЯS
FIT
1:1
100%

Артикул

Название

Примечание

Количество

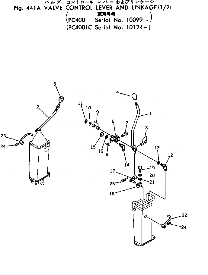
1

205-43-62231

LEVER

2

205-43-62241

LEVER

3

203-43-31420

BUSHING

4

205-43-62570

KNOB

5

205-43-62560

SWITCH,HORN

6

208-43-14110

YOKE

7

04205-01450

PIN

8

04050-14022

PIN,COTTER

9

203-43-31420

BUSHING

10

01641-21423

WASHER

11

04064-01410

RING,SNAP

12

207-43-11170

JOINT

13

01643-31032

WASHER

14

207-43-11170

JOINT

15

01582-11008

NUT

16

01643-31032

WASHER

17

205-43-62320

LEVER

18

205-43-62330

BLOCK

19

01010-50840

BOLT

20

01602-20825

WASHER,SPRING

21

01643-30823

WASHER

22

205-43-63820

LEVER

23

205-43-63830

LEVER

24

04025-00520

PIN

25

203-43-21370

SPRING

Выбрано товаров: 25