Запчасти Komatsu PC400-1 КЛАПАН РЫЧАГ УПРАВЛ-Я И МЕХАНИЗМ¤ ЛЕВ. (F.W.C.)(КРОМЕ ЯПОН.) ПОВОРОТН. И СИСТЕМА УПРАВЛЕНИЯS

Схема запчастей Komatsu PC400-1 - КЛАПАН РЫЧАГ УПРАВЛ-Я И МЕХАНИЗМ¤ ЛЕВ. (F.W.C.)(КРОМЕ ЯПОН.) ПОВОРОТН. И СИСТЕМА УПРАВЛЕНИЯS
FIT
1:1
100%

Артикул

Название

Примечание

Количество

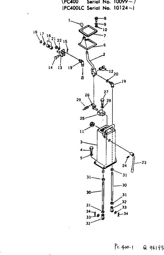
1

205-43-62570

KNOB

2

205-43-63611

LEVER

3

205-43-63590

STAND

4

01010-51230

BOLT

5

01643-31232

WASHER

6

205-43-63630

BELLOWS

7

205-43-63620

COVER

8

205-06-62170

BOLT

9

205-06-62180

WASHER,SPRING

10

205-06-62190

WASHER

11

09415-02512

CAP

12

203-43-31420

BUSHING

13

205-43-52140

YOKE

14

04205-11450

PIN

15

04050-14022

PIN,COTTER

16

203-43-31420

BUSHING

17

01641-21423

WASHER

18

04064-01410

RING,SNAP

19

207-43-11170

JOINT

20

01643-31032

WASHER

21

01582-11008

NUT

22

01643-31032

WASHER

23

205-43-63841

LEVER

24

04025-00520

PIN

25

205-43-63640

BLOCK

26

205-43-63651

LEVER

27

01010-50640

BOLT

28

01643-30623

WASHER

29

203-43-21370

SPRING

30

04245-41039

ROD

31

01582-11008

NUT

32

04250-41056

END,ROD

33

01640-21016

WASHER

34

04052-01038

PIN,SNAP

Выбрано товаров: 34