Запчасти Komatsu PC400-1 МЕХ-М ОТБОРА МОЩНОСТИ (/) КОМПОНЕНТЫ ДВИГАТЕЛЯ И ЭЛЕКТРИКА

Схема запчастей Komatsu PC400-1 - МЕХ-М ОТБОРА МОЩНОСТИ (/) КОМПОНЕНТЫ ДВИГАТЕЛЯ И ЭЛЕКТРИКА
FIT
1:1
100%

Артикул

Название

Примечание

Количество

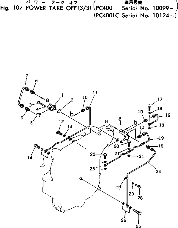
1

208-38-11340

PUMP ASS'Y

2

07000-03048

O-RING

3

01252-40825

BOLT

4

01602-20825

WASHER,SPRING

5

208-38-11440

ELBOW

6

07213-51521

CONNECTOR

7

208-38-11380

TUBE

8

208-38-11350

BLOCK

9

01643-31232

WASHER

10

07213-50610

CONNECTOR

11

208-38-11390

TUBE

12

6600-01-3860

BOLT

13

07005-01012

GASKET

14

07206-20610

BOLT

15

07005-01012

GASKET

16

208-38-11410

TUBE

17

07206-20610

BOLT

18

07005-01012

GASKET

19

208-38-11420

TUBE

20

6600-01-3860

BOLT

21

07005-01012

GASKET

22

07206-20610

BOLT

23

07005-01012

GASKET

24

208-38-11430

TUBE

25

208-38-11330

BOLT

26

07005-01012

GASKET

27

08036-10814

CLIP

28

01010-51220

BOLT

29

01643-31232

WASHER

Выбрано товаров: 29