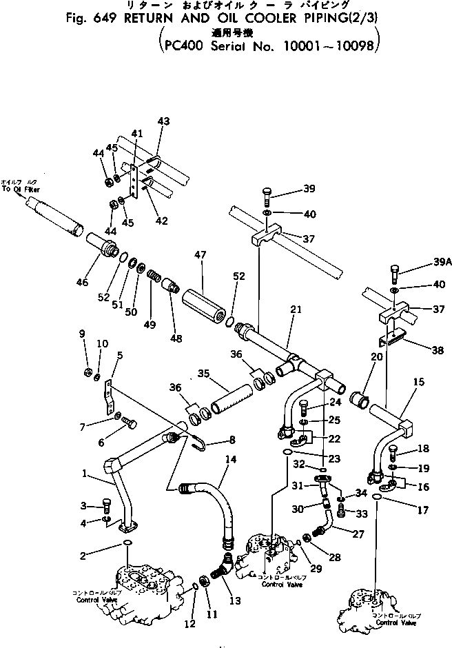
Запчасти Komatsu PC400-1 ВОЗВРАТ. И ЛИНИИ МАСЛООХЛАДИТЕЛЯ (/)(№-98) УПРАВЛ-Е РАБОЧИМ ОБОРУДОВАНИЕМ

Схема запчастей Komatsu PC400-1 - ВОЗВРАТ. И ЛИНИИ МАСЛООХЛАДИТЕЛЯ (/)(№-98) УПРАВЛ-Е РАБОЧИМ ОБОРУДОВАНИЕМ
FIT
1:1
100%

Артикул

Название

Примечание

Количество

1

208-62-16151

TUBE

2

07000-13038

O-RING

3

07372-21035

BOLT

4

01643-51032

WASHER

|4

01602-21030

WASHER,SPRING

5

208-62-16631

PLATE

6

01010-51225

BOLT

7

01643-31232

WASHER

8

07283-24346

CLIP

9

01599-01011

NUT

10

01643-31032

WASHER

11

07239-13320

NUT

12

07002-03334

O-RING

13

07232-11034

ELBOW

14

07102-21006

HOSE

15

208-62-16170

TUBE

16

07371-21255

FLANGE,SPLIT

17

07000-13038

O-RING

18

07372-01035

BOLT

19

01643-51032

WASHER

|19

01602-01030

WASHER

20

07332-01200

COUPLING

|20

07332-51200

GASKET

|20

07332-61200

CLAMP

21

208-62-16161

TUBE

22

07371-21255

FLANGE,SPLIT

23

07000-13038

O-RING

24

07372-01035

BOLT

25

01643-51032

WASHER

|25

01602-01030

WASHER,SPRING

27

208-62-16420

TUBE

28

07239-13320

NUT

29

07002-03334

O-RING

30

07332-00600

COUPLING ASS'Y

|30

07332-50600

GASKET

|30

07332-60600

CLAMP

31

208-62-16430

TUBE

32

07000-03028

O-RING

33

01010-31030

BOLT

34

01643-51032

WASHER

|34

01602-01030

WASHER,SPRING

35

205-62-66240

HOSE

36

208-09-11110

CLAMP

37

207-62-14650

CLAMP

38

207-62-14660

CLAMP

39

01010-31280

BOLT

39A

01010-31270

BOLT

40

01643-31232

WASHER

41

208-62-16740

PLATE

42

07283-22738

CLIP

43

07283-24346

CLIP

44

01599-01011

NUT

45

01643-31032

WASHER

46

208-62-16290

TUBE

|47

208-60-11700

VALVE ASS'Y

47

208-60-11710

BODY

48

208-60-11720

POPPET

49

205-60-51360

SPRING

50

205-60-51370

SEAT

51

04065-03815

RING,SNAP

52

07002-04234

O-RING

Выбрано товаров: 61