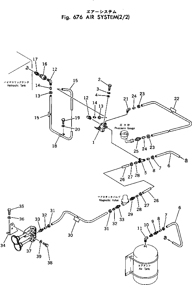
Запчасти Komatsu PC400-1 ВОЗД. СИСТЕМА (/) УПРАВЛ-Е РАБОЧИМ ОБОРУДОВАНИЕМ

Схема запчастей Komatsu PC400-1 - ВОЗД. СИСТЕМА (/) УПРАВЛ-Е РАБОЧИМ ОБОРУДОВАНИЕМ
FIT
1:1
100%

Артикул

Название

Примечание

Количество

1

205-68-51163

REGULATOR

|1

205-68-51162

REGULATOR

2

01010-50616

BOLT

3

01602-20619

WASHER,SPRING

4

01643-30623

WASHER

5

07835-00617

TEE

6

07822-00609

TUBE

7

07832-00614

NUT

8

07831-00612

SLEEVE

9

07836-00617

CONNECTOR

10

07326-00403

ADAPTER

11

07323-20400

ELBOW

12

07834-00817

ELBOW

13

07832-00817

NUT

14

07831-00813

SLEEVE

15

07822-00813

TUBE

|15

07822-00814

TUBE

16

205-68-51180

VALVE

17

07325-00300

NIPPLE

18

08036-01414

CLIP

19

01010-51220

BOLT

20

01643-31232

WASHER

21

07834-00413

ELBOW

22

07822-00438

TUBE

23

07832-00410

NUT

24

07831-00411

SLEEVE

25

07836-00410

CONNECTOR

26

07822-00605

TUBE

27

07832-00614

NUT

28

07831-00612

SLEEVE

29

07836-00613

CONNECTOR

30

07822-00619

TUBE

31

07832-00614

NUT

32

07831-00612

SLEEVE

33

07836-00613

CONNECTOR

34

208-68-11120

BRACKET

35

01010-51220

BOLT

36

01643-21032

WASHER

37

281-34-13900

HORN

38

01010-51025

BOLT

39

01643-21032

WASHER

Выбрано товаров: 41