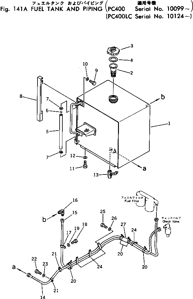
Запчасти Komatsu PC400-1 ТОПЛ. БАК И ТОПЛИВОПРОВОД(№99-) КОМПОНЕНТЫ ДВИГАТЕЛЯ И ЭЛЕКТРИКА

Схема запчастей Komatsu PC400-1 - ТОПЛ. БАК И ТОПЛИВОПРОВОД(№99-) КОМПОНЕНТЫ ДВИГАТЕЛЯ И ЭЛЕКТРИКА
FIT
1:1
100%

Артикул

Название

Примечание

Количество

|1

208-04-00013

FUEL TANK ASS'Y

1

TANK,FUEL

2

07056-18416

STRAINER

3

07050-21200

CAP

4

07050-21202

GASKET

5

208-04-11190

TUBE

6

201-04-21160

BALL

7

07281-10197

CLAMP

8

208-04-11160

COVER

9

01010-51225

BOLT

10

01643-31232

WASHER

11

01010-51630

BOLT

12

01643-31645

WASHER

13

07700-40240

VALVE

14

02750-24335

HOSE

15

02750-23300

HOSE

16

154-04-12640

ELBOW

17

08036-01814

CLIP

18

01010-51220

BOLT

19

01643-31232

WASHER

20

08034-00536

BAND

21

08036-02514

CLIP

22

01010-51220

BOLT

23

01643-31232

WASHER

24

145-01-42120

CLIP

25

01010-51220

BOLT

26

01643-31232

WASHER

27

205-62-53780

COVER

Выбрано товаров: 28