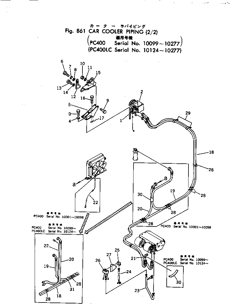
Запчасти Komatsu PC400-1 CAR ЛИНИЯ ОХЛАЖДЕНИЯ (/)(№99-77) ОПЦИОННЫЕ КОМПОНЕНТЫ

Схема запчастей Komatsu PC400-1 - CAR ЛИНИЯ ОХЛАЖДЕНИЯ (/)(№99-77) ОПЦИОННЫЕ КОМПОНЕНТЫ
FIT
1:1
100%

Артикул

Название

Примечание

Количество

1

04120-21757

V-BELT

2

205-981-5130

COMPRESSOR ASS'Y

3

01010-30820

BOLT

4

01602-00825

WASHER,SPRING

5

207-978-1110

BRACKET

6

01010-31235

BOLT

7

01602-01236

WASHER,SPRING

8

01643-31232

WASHER

9

01010-31490

BOLT

10

01580-01411

NUT

11

01643-31445

WASHER

12

145-Z79-4320

PLATE

13

01010-31230

BOLT

14

01643-31232

WASHER

15

6711-61-2420

BRACKET

16

145-Z79-4330

BOLT

17

04050-02020

PIN,COTTER

18

207-978-1170

HOSE

19

09488-10637

HOSE

|19

208-978-1130

HOSE

20

09488-00529

HOSE

|20

09488-20527

HOSE

21

205-981-5250

ELBOW

22

208-978-1170

WIRE ASS'Y

|22

205-981-5420

WIRE ASS'Y

23

203-981-2160

WIRE ASS'Y

24

203-981-2150

WIRE ASS'Y

25

205-981-5160

RELAY

26

205-981-5150

PANEL ASS'Y

27

205-978-6170

BRACKET

28

08034-00536

BAND

|28

08034-00536

BAND

29

175-804-3230

CLIP

30

566-07-11450

TAPE

|30

205-62-53780

COVER

31

208-978-1160

WIRE ASS'Y

Выбрано товаров: 36