Запчасти Komatsu PC400-1 ПАНЕЛЬ ПРИБОРОВ (/)(№99-) КОМПОНЕНТЫ ДВИГАТЕЛЯ И ЭЛЕКТРИКА

Схема запчастей Komatsu PC400-1 - ПАНЕЛЬ ПРИБОРОВ (/)(№99-) КОМПОНЕНТЫ ДВИГАТЕЛЯ И ЭЛЕКТРИКА
FIT
1:1
100%

Артикул

Название

Примечание

Количество

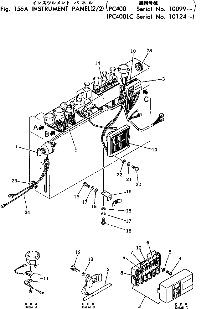
1

08066-00000

SWITCH,BATTERY

2

208-06-12240

HARNESS

3

175-06-35430

BOX,FUSE

4

01220-40616

SCREW

5

01611-06063

WASHER

6

175-06-35420

FUSE¤ 10A

7

175-06-35410

FUSE¤ 20A

8

175-06-35390

FUSE¤ 30A

9

175-06-35380

FUSE¤ 40A

10

178-06-12290

WIRE

11

205-06-51290

CONDENSER

12

01010-50612

BOLT

13

01602-20619

WASHER,SPRING

14

209-06-11720

RADIO

15

205-06-62280

BRACKET

16

01220-40512

SCREW

17

01601-20513

WASHER,SPRING

18

01642-20508

WASHER

19

209-06-11730

SPEAKER

20

01220-40420

SCREW

21

01601-20410

WASHER,SPRING

22

01641-20405

WASHER

23

08037-02512

GROMMET

24

205-06-62680

WIRE

Выбрано товаров: 24