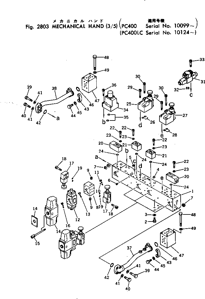
Запчасти Komatsu PC400-1 МЕХАНИЧ. HAND (/) ОПЦИОННЫЕ КОМПОНЕНТЫ (СПЕЦ. APPLICATION ЧАСТИ)
№
Артикул
Название
Примечание
Количество
1
208-936-1810
BLOCK
2
01010-51025
BOLT
3
01643-31032
WASHER
4
208-936-2560
PLUG
5
208-936-2570
PLUG
6
208-936-2580
PLUG
7
208-936-2590
PLUG
8
208-936-1890
BLOCK
9
07042-30108
PLUG
10
07000-01009
O-RING
11
23S-60-13520
O-RING
12
208-936-1920
VALVE
13
23S-60-13520
O-RING
14
208-936-1940
VALVE
15
208-936-1950
BOLT
16
23S-60-13520
O-RING
17
208-936-1930
VALVE
18
01252-40545
BOLT
19
208-936-2920
O-RING
20
208-936-3120
BLOCK
21
208-936-3130
BLOCK
22
01252-40850
BOLT
23
01643-50823
WASHER
24
07000-12018
O-RING
25
208-936-1970
VALVE
26
07000-12018
O-RING
27
208-936-1980
VALVE
28
07000-12018
O-RING
29
01252-41270
BOLT
30
01252-41295
BOLT
31
208-936-1960
VALVE
32
208-936-2920
O-RING
33
01252-40522
BOLT
34
208-936-3110
VALVE
35
07000-11009
O-RING
36
01252-40850
BOLT
37
208-936-1830
TUBE
38
208-936-1880
TUBE
39
01010-51060
BOLT
40
01010-51050
BOLT
41
01643-51032
WASHER
42
07000-13035
O-RING
43
07371-31255
FLANGE,SPLIT
44
07372-21035
BOLT
45
01643-51032
WASHER
46
07000-13038
O-RING
47
208-936-1840
BLOCK
48
01011-51040
BOLT
49
01643-51032
WASHER
Выбрано товаров: 49