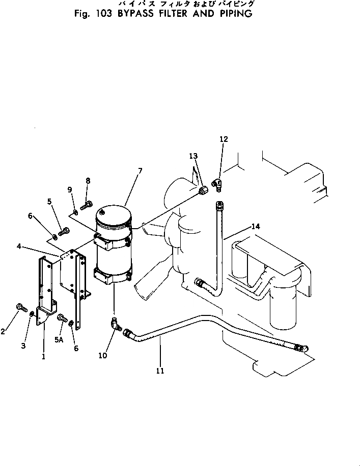
Запчасти Komatsu PC400-1 ПРОХОДНОЙ ФИЛЬТР И ТРУБЫ КОМПОНЕНТЫ ДВИГАТЕЛЯ И ЭЛЕКТРИКА
FIT
1:1
100%
№
Артикул
Название
Примечание
Количество
1
208-01-14140
BRACKET
2
01010-51230
BOLT
3
01643-31232
WASHER
4
208-01-14130
BRACKET
5
01010-51230
BOLT
5A
01010-51225
BOLT
6
01643-31232
WASHER
7
6684-51-5000
BYPASS FILTER A.
8
01010-50820
BOLT
9
01602-20825
WASHER,SPRING
10
6127-51-5930
ELBOW
11
07102-20407
HOSE
12
6127-51-5930
ELBOW
13
6710-51-5170
ADAPTER
14
07102-20404
HOSE
Выбрано товаров: 15