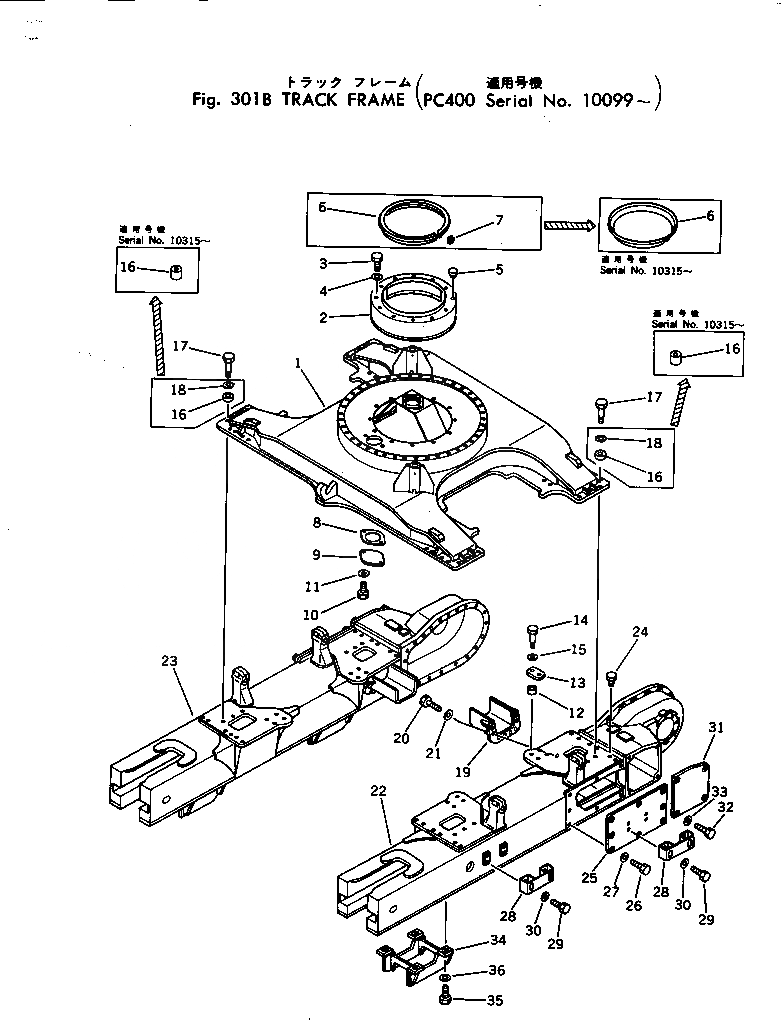
Запчасти Komatsu PC400-1 ГУСЕНИЧНАЯ РАМА(№99-) ХОДОВАЯ

Схема запчастей Komatsu PC400-1 - ГУСЕНИЧНАЯ РАМА(№99-) ХОДОВАЯ
FIT
1:1
100%

Артикул

Название

Примечание

Количество

1

208-30-11115

FRAME

2

208-30-11813

COVER

|2

208-30-11812

COVER

3

01010-51225

BOLT

4

01643-31232

WASHER

5

09415-02512

CAP

6

208-30-11832

SEAL

|6

208-30-11831

SEAL

7

207-30-11560

SEAL

8

208-30-11862

GASKET

9

205-30-67650

COVER

10

01010-51225

BOLT

11

01643-31232

WASHER

12

208-30-12150

COLLAR

13

208-30-12160

PLATE

14

208-30-12140

BOLT

15

01643-33080

WASHER

16

208-30-11971

SPACER

|16

208-30-11970

SPACER

17

208-30-12130

BOLT

18

01643-33080

WASHER

19

208-30-12170

BRACKET

20

01010-51655

BOLT

21

01643-31645

WASHER

22

208-30-11174

FRAME,L.H.

23

208-30-11184

FRAME,R.H.

24

208-30-11980

PLUG

25

208-30-11342

COVER,L.H.

26

01010-51645

BOLT

27

01643-31645

WASHER

28

208-30-11480

BRACKET

29

01010-51640

BOLT

30

01643-31645

WASHER

31

208-30-11322

COVER,L.H.

|31

208-30-11332

COVER,R.H.

32

01010-51645

BOLT

33

01643-31645

WASHER

34

208-30-11431

GUARD

35

01010-52260

BOLT

36

01643-32260

WASHER

Выбрано товаров: 0