Запчасти Komatsu PC400-1 МЕХ-М ОТБОРА МОЩНОСТИ (/)(№99-) КОМПОНЕНТЫ ДВИГАТЕЛЯ И ЭЛЕКТРИКА

Схема запчастей Komatsu PC400-1 - МЕХ-М ОТБОРА МОЩНОСТИ (/)(№99-) КОМПОНЕНТЫ ДВИГАТЕЛЯ И ЭЛЕКТРИКА
FIT
1:1
100%

Артикул

Название

Примечание

Количество

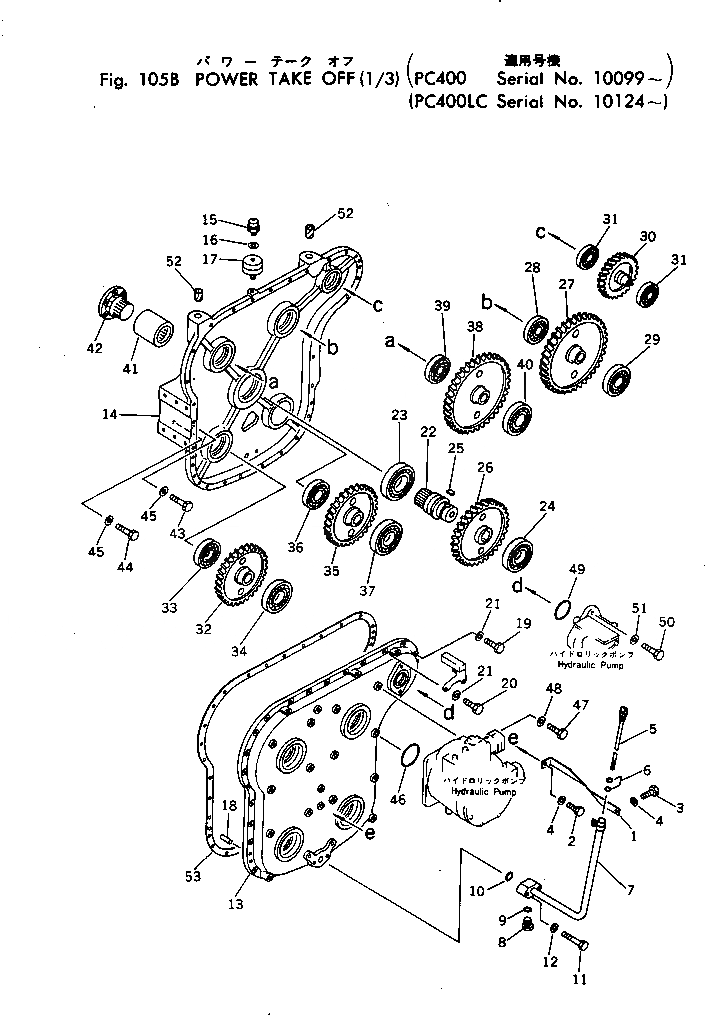
1

208-38-11550

BRACKET

2

01010-51020

BOLT

3

01010-51025

BOLT

4

01643-31032

WASHER

5

208-38-11540

GAUGE

6

07002-02434

O-RING

|6

07000-03022

O-RING

7

208-38-11313

TUBE

8

07044-12412

PLUG

9

07002-02434

O-RING

10

07000-03028

O-RING

11

01010-51060

BOLT

12

01643-31032

WASHER

13

208-38-11221

COVER

14

208-38-11211

CASE

15

07030-03034

BREATHER

16

07005-03016

GASKET

17

208-38-11462

TUBE

18

04020-01434

PIN,DOWEL

19

01010-51240

BOLT

20

01010-51250

BOLT

21

01643-31232

WASHER

22

208-38-11250

SHAFT

23

06030-06219

BEARING

24

06030-06214

BEARING

25

201-27-11430

KEY

26

208-38-11260

GEAR

27

208-38-11280

GEAR

28

06030-06212

BEARING

29

06030-06214

BEARING

30

208-38-11290

GEAR

31

06030-06009

BEARING

32

208-38-11270

GEAR

33

06030-06212

BEARING

34

06030-06214

BEARING

35

208-38-11270

GEAR

36

06030-06212

BEARING

37

06030-06214

BEARING

38

208-38-11280

GEAR

39

06030-06212

BEARING

40

06030-06214

BEARING

41

208-38-11240

COUPLING

42

208-38-11230

FLANGE

43

01010-51240

BOLT

44

01010-51255

BOLT

45

01643-31232

WASHER

46

07000-02145

O-RING

47

01010-51650

BOLT

48

01643-31645

WASHER

49

07000-02105

O-RING

50

01010-51240

BOLT

51

01643-31232

WASHER

52

07049-03038

PLUG

53

208-00-11480

GASKET,LIQUID

Выбрано товаров: 0