Запчасти Komatsu PC400-3 НИЖН. УПРАВЛЕНИЕ РАЗГРУЗКОЙ (ДЛЯ WRIST УПРАВЛ-Е) (ДЛЯ НИЖН. ПОГРУЗ.) ПОВОРОТН. И СИСТЕМА УПРАВЛЕНИЯ

Схема запчастей Komatsu PC400-3 - НИЖН. УПРАВЛЕНИЕ РАЗГРУЗКОЙ (ДЛЯ WRIST УПРАВЛ-Е) (ДЛЯ НИЖН. ПОГРУЗ.) ПОВОРОТН. И СИСТЕМА УПРАВЛЕНИЯ
FIT
1:1
100%

Артикул

Название

Примечание

Количество

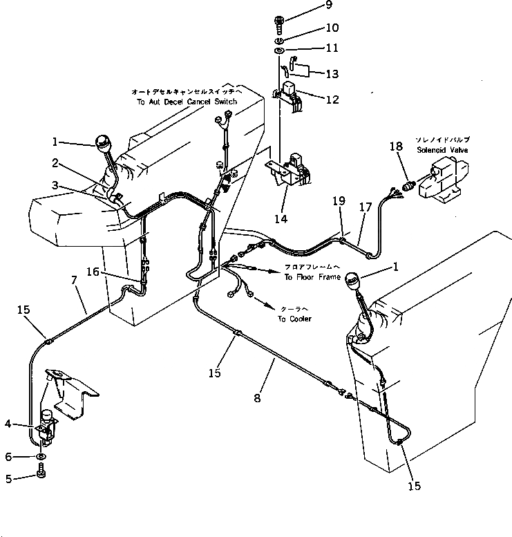
1

209-43-13442

SWITCH

2

08023-12010

TUBE

3

08036-10810

CLIP

4

21T-06-11901

SWITCH ASS'Y

5

01010-50816

BOLT

6

01643-30823

WASHER

7

208-06-31230

WIRING HARNESS

8

208-06-31210

WIRING HARNESS

9

01252-40416

BOLT

10

01601-20410

WASHER,SPRING

11

01641-20405

WASHER

12

20K-06-11260

RELAY

13

20K-06-11280

SPRING

14

208-06-31240

BRACKET

15

205-54-72710

CLIP

16

08034-00519

BAND

17

208-06-31220

WIRING HARNESS

18

21T-06-12530

CONNECTOR

19

08034-00519

BAND

Выбрано товаров: 19