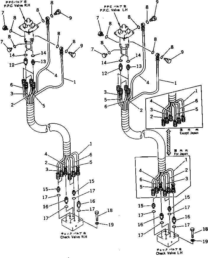
Запчасти Komatsu PC400-3 КЛАПАН PPCТРУБЫ(/)(ДЛЯ WRIST УПРАВЛ-Е)(АВТОМ. ЗАМЕДЛЕНИЕ ОБОРОТОВ¤ ПОВОРОТН. МЕХАНИЧ. ТОРМОЗ.) ПОВОРОТН. И СИСТЕМА УПРАВЛЕНИЯ

Схема запчастей Komatsu PC400-3 - КЛАПАН PPCТРУБЫ(/)(ДЛЯ WRIST УПРАВЛ-Е)(АВТОМ. ЗАМЕДЛЕНИЕ ОБОРОТОВ¤ ПОВОРОТН. МЕХАНИЧ. ТОРМОЗ.) ПОВОРОТН. И СИСТЕМА УПРАВЛЕНИЯ
FIT
1:1
100%

Артикул

Название

Примечание

Количество

|$0

205-62-74160

HOSE ASS'Y

1

205-62-71640

HOSE,(RED)

2

205-62-71630

HOSE,(YELLOW)

3

205-62-71630

HOSE,(WHITE)

4

205-62-71640

HOSE,(BLUE)

5

205-62-71630

HOSE,(BLACK)

6

205-62-71630

HOSE,(GREEN)

7

205-62-74230

PLUG

8

07000-02018

O-RING

8

07000-02018

O-RING

9

706-46-56290

BOLT,EYE

12

207-62-33951

NIPPLE

13

205-62-55270

NIPPLE

14

07002-01423

O-RING

15

205-62-55270

NIPPLE

16

207-62-33950

NIPPLE

17

07002-01423

O-RING

18

01010-51070

BOLT

19

01643-31032

WASHER

Выбрано товаров: 19