Запчасти Komatsu PC400-3 КЛАПАН PPCТРУБЫ(/)(ДЛЯ WRIST УПРАВЛ-Е)(W/O АВТОМ. ЗАМЕДЛЕНИЕ ОБОРОТОВ¤ ПОВОРОТН. МЕХАНИЧ. ТОРМОЗ.)(№-9) ПОВОРОТН. И СИСТЕМА УПРАВЛЕНИЯ

Схема запчастей Komatsu PC400-3 - КЛАПАН PPCТРУБЫ(/)(ДЛЯ WRIST УПРАВЛ-Е)(W/O АВТОМ. ЗАМЕДЛЕНИЕ ОБОРОТОВ¤ ПОВОРОТН. МЕХАНИЧ. ТОРМОЗ.)(№-9) ПОВОРОТН. И СИСТЕМА УПРАВЛЕНИЯ
FIT
1:1
100%

Артикул

Название

Примечание

Количество

|$0

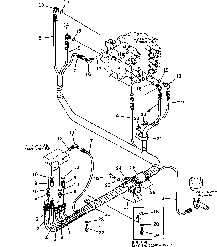
207-62-33621

HOSE ASS'Y

1

07102-20322

HOSE,(RED)

2

07102-20327

HOSE,(GREEN)

3

07102-20323

HOSE,(BLACK)

4

07102-20324

HOSE,(BLUE)

5

07102-20328

HOSE,(YELLOW)

6

07102-20325

HOSE,(WHITE)

7

207-62-33650

HOSE

8

205-62-55270

NIPPLE

9

207-62-33951

NIPPLE

10

07002-01423

O-RING

11

07235-10210

ELBOW

12

07002-01423

O-RING

13

07235-10315

ELBOW

14

07235-10315

ELBOW

15

07002-02034

O-RING

16

07235-10210

ELBOW

17

07002-01423

O-RING

18

207-62-33560

BRACKET

19

01010-51225

BOLT

20

01643-31232

WASHER

21

21K-03-11190

CLIP

22

01010-51225

BOLT

23

01643-31232

WASHER

24

207-62-33990

GROMMET

25

205-62-53780

COVER

26

08034-00876

BAND

Выбрано товаров: 27