Запчасти Komatsu PC400-3 ГЛАВН. ТРУБЫ (С ПОВОРОТН. МЕХАНИЧ. ТОРМОЗ.) ПОВОРОТН. И СИСТЕМА УПРАВЛЕНИЯ

Схема запчастей Komatsu PC400-3 - ГЛАВН. ТРУБЫ (С ПОВОРОТН. МЕХАНИЧ. ТОРМОЗ.) ПОВОРОТН. И СИСТЕМА УПРАВЛЕНИЯ
FIT
1:1
100%

Артикул

Название

Примечание

Количество

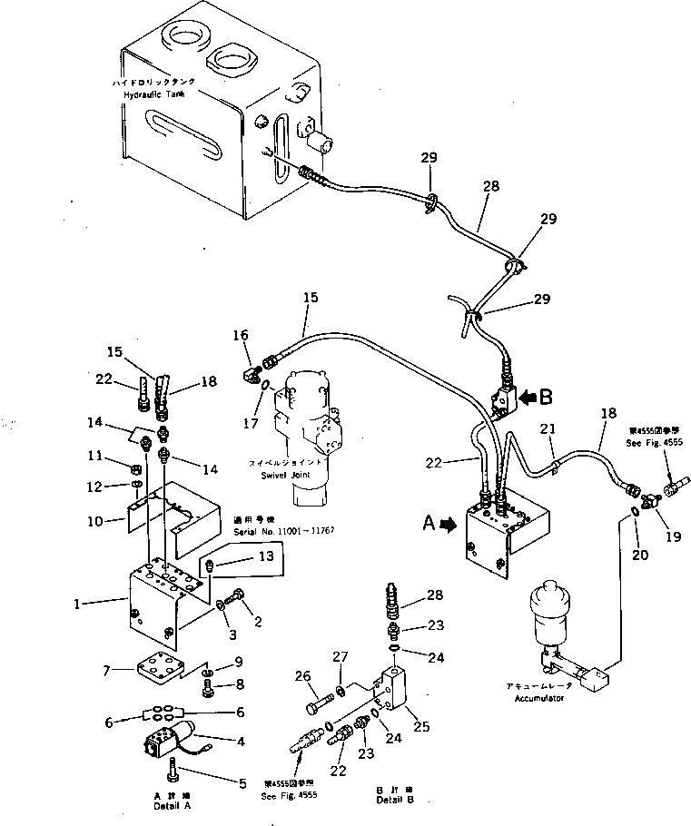
1

207-62-33840

BRACKET

2

01010-51230

BOLT

3

01643-31232

WASHER

4

205-62-74571

VALVE

5

01252-40550

BOLT

6

205-62-74580

O-RING

7

205-62-74211

BLOCK

8

01252-40535

BOLT

9

01601-20513

WASHER,SPRING

10

206-62-43330

COVER

11

01580-10504

NUT

12

01601-20513

WASHER,SPRING

13

07042-30312

PLUG

14

22W-62-17710

NIPPLE

15

207-62-33820

HOSE

16

07235-10210

ELBOW

17

07002-01423

O-RING

18

205-62-74320

HOSE

19

208-62-17550

TEE

20

07002-01423

O-RING

21

08036-01414

CLIP

22

205-62-71630

HOSE

23

07230-20210

UNION

23

07230-10210

UNION

24

07002-01423

O-RING

25

207-62-33811

BLOCK

26

01010-51050

BOLT

27

01643-31032

WASHER

28

07103-20215

HOSE

29

08034-00536

BAND

Выбрано товаров: 30