Запчасти Komatsu PC400-3 MACHINERY ОБСТАНОВКА (/) (С ЗАЩИТА ОТ ВАНДАЛИЗМА) ОСНОВНАЯ РАМА И КАБИНА

Схема запчастей Komatsu PC400-3 - MACHINERY ОБСТАНОВКА (/) (С ЗАЩИТА ОТ ВАНДАЛИЗМА) ОСНОВНАЯ РАМА И КАБИНА
FIT
1:1
100%

Артикул

Название

Примечание

Количество

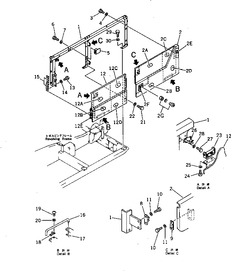
1

207-54-31131

FRAME

2

208-54-31111

DOOR

2A

208-54-32130

SHEET

2B

208-54-32140

SHEET

2C

208-54-32110

SHEET

2D

208-54-32120

SHEET

2E

205-54-64160

HINGE (WELDED)

2F

205-54-76250

LOCK (WELDED)

2G

205-54-76330

LOCK ASS'Y

3

01010-51230

BOLT

4

01643-31232

WASHER

5

207-54-31950

BRACKET

5

207-54-31890

BRACKET

6

01010-51025

BOLT

7

01643-31032

WASHER

8

205-54-51970

DOVE TAIL

9

205-54-53550

DOVE TAIL

10

01010-50616

BOLT

11

01643-30623

WASHER

12

208-54-31120

DOOR

12A

208-54-32170

SHEET

12B

208-54-32180

SHEET

12C

208-54-32150

SHEET

12D

208-54-32160

SHEET

12E

207-54-31880

HINGE (WELDED)

13

01010-51230

BOLT

14

01643-31232

WASHER

15

205-54-55390

SHIM, 1.0MM

16

205-54-64140

BAR

17

04050-13018

PIN,COTTER

18

20B-54-12210

SPRING

19

01220-40406

SCREW

20

01641-20405

WASHER

21

01010-51230

BOLT

22

01643-31232

WASHER

23

207-54-31870

BRACKET

24

01010-51020

BOLT

25

01643-31032

WASHER

26

22D-62-14560

CLAMP

27

01010-51020

BOLT

28

01643-31032

WASHER

29

01010-51230

BOLT

30

01643-31232

WASHER

Выбрано товаров: 43