Запчасти Komatsu PC400-3 КАБИНА (/) (ТИП )(№9-) ОСНОВНАЯ РАМА И КАБИНА

Схема запчастей Komatsu PC400-3 - КАБИНА (/) (ТИП )(№9-) ОСНОВНАЯ РАМА И КАБИНА
FIT
1:1
100%

Артикул

Название

Примечание

Количество

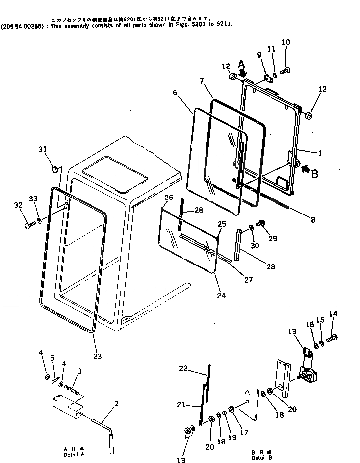
|$0

205-54-00256

OPERATOR'S CAB ASS'Y

|$1

205-54-00255

OPERATOR'S CAB ASS'Y

|$2

205-54-00261

FRONT WINDOW ASS'Y

1

205-54-71132

WINDOW,FRONT

2

205-54-72650

PIN

3

205-54-66330

SPRING

4

01641-21016

WASHER

5

04050-13018

PIN,COTTER

6

205-54-71211

GLASS

7

205-54-71520

STRIP,WEATHER

8

205-54-71621

SEAL

9

205-54-72570

STRIKER

10

01224-40820

SCREW

11

205-54-72750

WASHER,LOCK

12

205-54-72590

ROLLER

13

205-06-71410

WIPER MOTOR ASS'Y

14

01220-40516

SCREW

15

01601-20513

WASHER,SPRING

16

01641-20508

WASHER

17

205-06-62230

GROMMET

18

205-06-62270

WASHER

19

205-06-62240

COLLAR

20

205-06-62250

NUT

21

205-06-71420

ARM

21A

ND857199-0100

PIN KIT

22

205-06-62570

BLADE

23

205-54-71510

TRIM

24

205-54-76310

GLASS ASS'Y

25

205-54-72721

SEAL,L.H.

26

205-54-72731

SEAL,R.H.

27

205-54-72623

BRACKET

28

205-54-73370

BRACKET

29

01220-40616

SCREW

30

01643-30623

WASHER

31

09415-01008

CAP

32

01220-40412

SCREW

33

01601-20410

WASHER,SPRING

Выбрано товаров: 37