Запчасти Komatsu PC400-3 КАБИНА (/) (ТИП )(№-) ОСНОВНАЯ РАМА И КАБИНА

Схема запчастей Komatsu PC400-3 - КАБИНА (/) (ТИП )(№-) ОСНОВНАЯ РАМА И КАБИНА
FIT
1:1
100%

Артикул

Название

Примечание

Количество

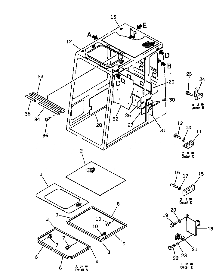
|$0

205-54-00256

OPERATOR'S CAB ASS'Y

|$1

205-54-00255

OPERATOR'S CAB ASS'Y

|$2

205-54-00254

OPERATOR'S CAB ASS'Y

1

205-54-72271

LINING

2

205-54-72282

LINING

3

205-54-72311

FINISHER

4

205-54-72321

FINISHER

5

205-54-72291

FINISHER

6

205-54-72851

FINISHER

7

01370-00412

SCREW

8

205-54-72341

FINISHER

9

205-54-72331

FINISHER

10

01370-00412

SCREW

11

205-54-72550

DOVE TAIL,L.H.

12

205-54-72560

DOVE TAIL,R.H.

13

01220-40625

SCREW

14

01602-20619

WASHER,SPRING

15

205-54-72790

LOCK

16

01224-40820

SCREW

17

205-54-72750

WASHER,LOCK

18

205-54-72582

BRACKET

19

01010-50816

BOLT

20

01643-30823

WASHER

21

205-54-63310

LOCK ASS'Y

22

01010-50820

BOLT

23

01643-30823

WASHER

24

205-54-51250

HANGER

25

01370-00412

SCREW

26

205-54-72940

SEAT

27

205-54-71471

SEAT

28

205-54-71460

SEAT

29

205-54-72950

SEAT

30

205-54-72960

SHEET

31

205-54-72970

SHEET

32

205-54-71451

SHEET

Выбрано товаров: 35