Запчасти Komatsu PC400-3 СЕРВОКЛАПАН¤ ПЕРЕДН. (/) (С -STAGE SELECTOR MODE OLSS) УПРАВЛ-Е РАБОЧИМ ОБОРУДОВАНИЕМ

Схема запчастей Komatsu PC400-3 - СЕРВОКЛАПАН¤ ПЕРЕДН. (/) (С -STAGE SELECTOR MODE OLSS) УПРАВЛ-Е РАБОЧИМ ОБОРУДОВАНИЕМ
FIT
1:1
100%

Артикул

Название

Примечание

Количество

|$0

708-27-02025

HYDRAULIC PUMP ASS'Y

|$1

708-27-02024

HYDRAULIC PUMP ASS'Y,(HPV 160+160)

|$2

708-27-02023

HYDRAULIC PUMP ASS'Y,(HPV 160+160)

|$3

708-27-02022

HYDRAULIC PUMP ASS'Y,(HPV 160+160)

|$4

708-27-02021

HYDRAULIC PUMP ASS'Y,(HPV 160+160)

|$5

708-27-02020

HYDRAULIC PUMP ASS'Y,(HPV 160+160)

|$6

708-27-01010

HYDRAULIC PUMP ASS'Y,(HPV 160+160)

|$7

708-27-10100

PUMP ASS'Y,(HPV 160+160)

|$8

708-27-07112

SERVO VALVE ASS'Y,FRONT

|$9

708-27-07111

SERVO VALVE ASS'Y

|$10

708-27-07110

SERVO VALVE ASS'Y,FRONT

|$11

708-27-15100

SERVO VALVE ASS'Y,FRONT

|$12

708-27-15200

SERVO VALVE SUB A.

|$13

708-23-07011

BODY ASS'Y

|$14

708-23-07010

BODY ASS'Y

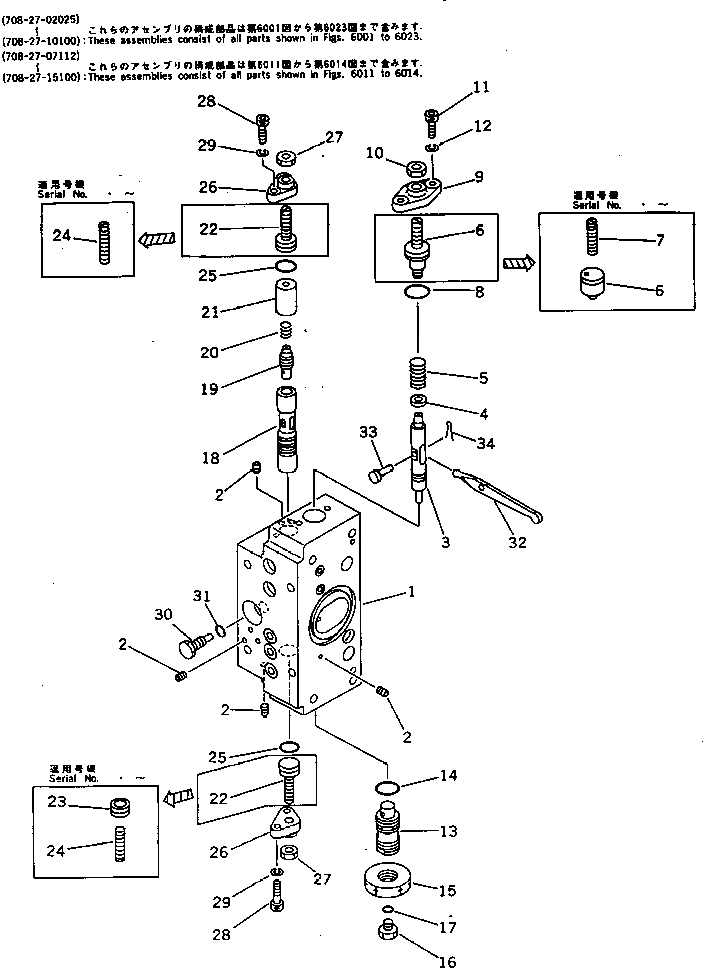
1

BODY

2

EXPANDER

2

PLUG

3

708-25-15120

PISTON

4

708-25-15130

SEAT

5

708-27-15140

SPRING

6

708-25-15420

PLUG

6

708-25-15160

PLUG

7

708-25-15340

SCREW

8

07000-02018

O-RING

9

708-25-15150

COVER

10

01580-10806

NUT

11

708-25-15320

BOLT

11

01252-30616

BOLT

12

01602-20619

WASHER,SPRING

13

708-25-15171

PLUG

14

07002-02034

O-RING

15

07239-12009

NUT

16

07040-11007

PLUG

17

07002-01023

O-RING

18

708-25-15180

SLEEVE

19

708-25-15280

SPOOL

20

708-25-15310

SPRING

21

708-25-15330

SPACER

21

708-25-15290

SPACER

22

708-25-15240

PLUG

23

708-25-15430

PLUG

24

708-25-15340

SCREW

25

O-RING

26

COVER

27

NUT

28

BOLT

28

01252-30616

BOLT

29

WASHER,SPRING

30

PLUG

31

O-RING

32

ARM

33

PIN

34

PIN,COTTER

Выбрано товаров: 0