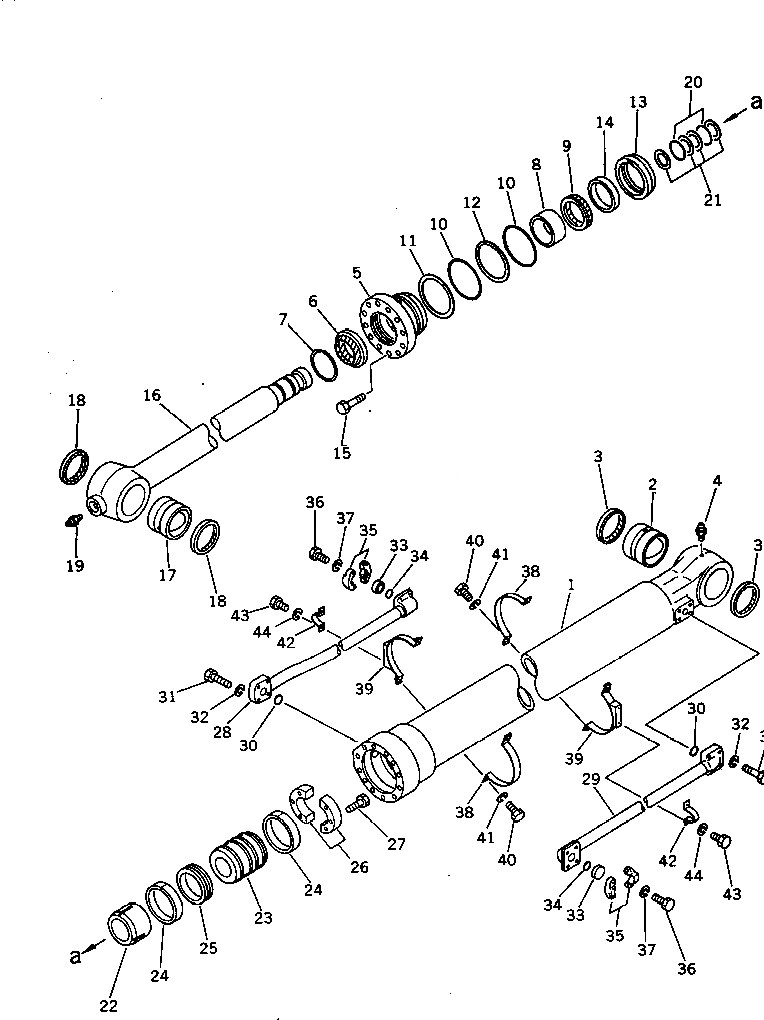
Запчасти Komatsu PC400-3 ЦИЛИНДР КОВША (ДЛЯ ЭКСКАВАТ.) УПРАВЛ-Е РАБОЧИМ ОБОРУДОВАНИЕМ

Схема запчастей Komatsu PC400-3 - ЦИЛИНДР КОВША (ДЛЯ ЭКСКАВАТ.) УПРАВЛ-Е РАБОЧИМ ОБОРУДОВАНИЕМ
FIT
1:1
100%

Артикул

Название

Примечание

Количество

|$0

208-63-72101

BUCKET CYLINDER A.

|$1

208-63-72100

BUCKET CYLINDER A.

1

208-63-72140

CYLINDER

2

707-76-10130

BUSHING

3

07145-00100

SEAL,DUST

4

07020-00000

FITTING,GREASE

5

707-28-16360

HEAD,CYLINDER

6

198-63-94170

SEAL,DUST

7

707-75-11010

RING,SNAP

8

07177-01140

BUSHING

9

707-51-11110

PACKING,ROD

10

07000-15155

O-RING

11

707-35-91650

RING,BACK-UP

12

07001-05155

RING

13

707-71-31140

COLLAR

14

707-71-11150

RING

15

01010-52070

BOLT

16

208-63-72121

ROD,PISTON

16

208-63-72120

ROD,PISTON

17

707-76-10140

BUSHING

18

208-70-12231

SEAL,DUST

19

07020-00000

FITTING,GREASE

20

07000-12085

O-RING

21

707-35-52830

RING,BACK-UP

22

707-71-50110

PLUNGER

23

707-36-16311

PISTON

24

07156-01620

RING,WEAR

25

707-44-16080

RING,PISTON

26

707-40-22070

SPACER

27

01010-51445

BOLT

28

208-63-72170

TUBE

29

208-63-72180

TUBE

30

07000-13035

O-RING

31

01010-51060

BOLT

32

01602-21030

WASHER,SPRING

33

07378-11000

HEAD

34

07000-13032

O-RING

35

07371-31049

FLANGE,SPLIT

36

07372-21035

BOLT

37

01602-21030

WASHER,SPRING

38

707-88-99501

BAND

39

707-88-99861

BAND

40

01010-51240

BOLT

41

01602-21236

WASHER,SPRING

42

07282-03411

CLAMP

43

01010-51020

BOLT

44

01602-21030

WASHER,SPRING

Выбрано товаров: 47