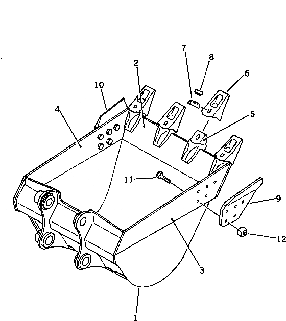
Запчасти Komatsu PC400-3 КОВШ¤ .M ШИР. MM (ДЛЯ ЭКСКАВАТ.) РАБОЧЕЕ ОБОРУДОВАНИЕ

Схема запчастей Komatsu PC400-3 - КОВШ¤ .M ШИР. MM (ДЛЯ ЭКСКАВАТ.) РАБОЧЕЕ ОБОРУДОВАНИЕ
FIT
1:1
100%

Артикул

Название

Примечание

Количество

1

208-926-3210

BUCKET

2

208-926-3220

PLATE (WELDED)

3

208-70-34120

PLATE,L.H. (WELDED)

4

208-70-34130

PLATE,R.H. (WELDED)

5

208-70-34150

ADAPTER (WELDED)

6

208-70-34211

TOOTH

6

208-70-34210

TOOTH

7

208-70-34220

PIN

8

208-70-34191

LOCK

8

208-70-34190

LOCK

9

208-70-34160

CUTTER,L.H.

10

208-70-34170

CUTTER,R.H.

11

198-32-14210

BOLT, SHOE

12

198-32-11221

NUT, SHOE

Выбрано товаров: 14