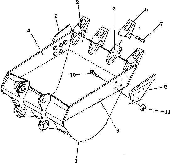
Запчасти Komatsu PC400-3 КОВШ¤ .M ШИР. MM (ГОРИЗОНТАЛЬН. ПАЛЕЦ) (ДЛЯ ЭКСКАВАТ.) РАБОЧЕЕ ОБОРУДОВАНИЕ

Схема запчастей Komatsu PC400-3 - КОВШ¤ .M ШИР. MM (ГОРИЗОНТАЛЬН. ПАЛЕЦ) (ДЛЯ ЭКСКАВАТ.) РАБОЧЕЕ ОБОРУДОВАНИЕ
FIT
1:1
100%

Артикул

Название

Примечание

Количество

1

208-926-3410

BUCKET

2

208-926-3220

PLATE (WELDED)

3

208-70-34120

PLATE (WELDED)

4

208-70-34130

PLATE (WELDED)

5

208-939-3120

ADAPTER (WELDED)

6

208-70-14152

TOOTH

7

09244-03036

PIN

8

208-70-34160

CUTTER,L.H.

9

208-70-34170

CUTTER,R.H.

10

198-32-14210

BOLT, SHOE

11

198-32-11221

NUT, SHOE

Выбрано товаров: 11