Запчасти Komatsu PC400-3 ЭЛЕКТРИКА (ЭЛЕКТРОПРОВОДКА) (/) (АВТОМ. ЗАМЕДЛЕНИЕ ОБОРОТОВ¤ ПОВОРОТН. МЕХАНИЧ. ТОРМОЗ.¤ -STAGE) КОМПОНЕНТЫ ДВИГАТЕЛЯ И ЭЛЕКТРИКА

Схема запчастей Komatsu PC400-3 - ЭЛЕКТРИКА (ЭЛЕКТРОПРОВОДКА) (/) (АВТОМ. ЗАМЕДЛЕНИЕ ОБОРОТОВ¤ ПОВОРОТН. МЕХАНИЧ. ТОРМОЗ.¤ -STAGE) КОМПОНЕНТЫ ДВИГАТЕЛЯ И ЭЛЕКТРИКА
FIT
1:1
100%

Артикул

Название

Примечание

Количество

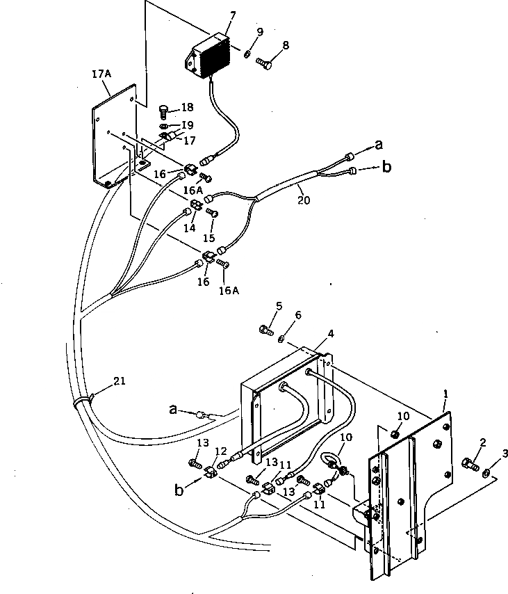
1

207-06-31142

BRACKET

2

01010-51225

BOLT

3

01643-31232

WASHER

4

7827-20-1002

CONTROL BOX ASS'Y

5

01010-50820

BOLT

6

01643-30823

WASHER

7

7827-11-1500

RESISTOR

8

01010-50820

BOLT

9

01643-30823

WASHER

10

205-06-71890

SWITCH

11

283-06-17120

CLIP

12

421-06-12610

CLIP

13

01220-40616

SCREW

14

283-06-17130

CLIP

15

01220-40616

SCREW

16

283-06-17130

CLIP

16A

01220-40616

SCREW

17

08036-02514

CLIP

17A

207-06-31430

BRACKET

18

01010-51225

BOLT

19

01643-31232

WASHER

20

208-06-31111

WIRING HARNESS

21

08034-00519

BAND

Выбрано товаров: 23