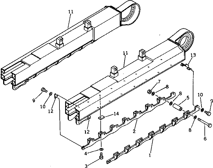
Запчасти Komatsu PC400-3 ОПОРНЫЙ КАТОК ПОЛН. ЗАЩИТА ОПЦИОННЫЕ КОМПОНЕНТЫ

Схема запчастей Komatsu PC400-3 - ОПОРНЫЙ КАТОК ПОЛН. ЗАЩИТА ОПЦИОННЫЕ КОМПОНЕНТЫ
FIT
1:1
100%

Артикул

Название

Примечание

Количество

1

208-30-31410

GUARD,L.H.

2

208-30-31420

GUARD,R.H.

3

01010-52260

BOLT

4

01643-32260

WASHER

5

150-30-15553

SPACER

6

175-30-32162

BOLT

7

01580-12419

NUT

8

01643-32460

WASHER

9

01010-52460

BOLT

10

01643-32460

WASHER

11

208-30-31460

FRAME,L.H.

11

208-30-31470

FRAME,R.H.

12

208-30-31450

PLATE (WELDED)

13

208-30-31430

PLATE,L.H. (WELDED)

13

208-30-31440

PLATE,R.H. (WELDED)

14

208-30-12370

SEAT (WELDED)

Выбрано товаров: 16