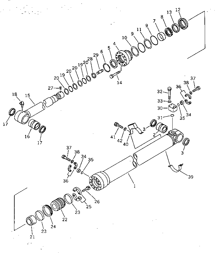
Запчасти Komatsu PC400-3 ЦИЛИНДР РУКОЯТИ(ДЛЯ СТОПОРН. КЛАПАН) (ДЛЯ США) СПЕЦ. APPLICATION ЧАСТИ¤ МАРКИРОВКА¤ ИНСТРУМЕНТ И РЕМКОМПЛЕКТЫ

Схема запчастей Komatsu PC400-3 - ЦИЛИНДР РУКОЯТИ(ДЛЯ СТОПОРН. КЛАПАН) (ДЛЯ США) СПЕЦ. APPLICATION ЧАСТИ¤ МАРКИРОВКА¤ ИНСТРУМЕНТ И РЕМКОМПЛЕКТЫ
FIT
1:1
100%

Артикул

Название

Примечание

Количество

|$0

208-63-62201

ARM CYLINDER ASS'Y

1

208-63-62140

CYLINDER

2

707-76-11130

BUSHING

3

07145-00110

SEAL,DUST

4

707-28-18370

HEAD,CYLINDER

5

195-63-93170

SEAL,DUST

6

707-75-12010

RING,SNAP

7

07177-01240

BUSHING

8

707-51-12110

PACKING,ROD

9

07000-15175

O-RING

10

707-35-91850

RING,BACK-UP

11

07001-05175

RING,BACK-UP

12

707-71-31250

COLLAR

13

707-71-11250

RING

14

01010-52475

BOLT

15

208-63-62122

ROD,PISTON

16

707-76-11130

BUSHING

17

07145-00110

SEAL,DUST

18

07020-00900

FITTING,GREASE

19

07000-12100

O-RING

20

707-35-52940

RING,BACK-UP

21

707-71-51550

PLUNGER

22

707-36-18250

PISTON

23

707-39-18820

RING,WEAR

24

707-44-18180

RING,PISTON

25

707-40-18870

SPACER

26

01252-31455

BOLT

27

707-71-91040

SCREW

28

04260-00952

BALL

29

707-71-50351

PLUNGER

30

20D-62-17860

ELBOW

31

07000-13035

O-RING

32

01010-51070

BOLT

33

01602-21030

WASHER,SPRING

34

07378-11000

HEAD

35

07000-13032

O-RING

36

07371-31049

FLANGE,SPLIT

37

07372-21035

BOLT

38

01643-51032

WASHER

39

707-88-99840

BAND

40

707-88-99830

BAND

41

01010-51240

BOLT

42

01602-21236

WASHER,SPRING

Выбрано товаров: 43