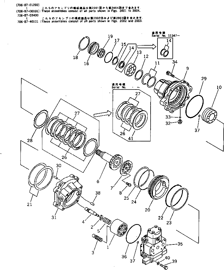
Запчасти Komatsu PC400-3 МОТОР ХОДА (/) ХОД И КОНЕЧНАЯ ПЕРЕДАЧА

Схема запчастей Komatsu PC400-3 - МОТОР ХОДА (/) ХОД И КОНЕЧНАЯ ПЕРЕДАЧА
FIT
1:1
100%

Артикул

Название

Примечание

Количество

|$0

706-87-01202

TRAVEL MOTOR ASS'Y

|$1

706-87-01201

TRAVEL MOTOR ASS'Y

|$2

706-87-01200

TRAVEL MOTOR ASS'Y

|$3

706-87-00101

TRAVEL MOTOR ASS'Y

|$4

706-87-03400

MOTOR ASS'Y

|$5

706-87-03105

MOTOR ASS'Y

|$6

706-87-03104

MOTOR ASS'Y

|$7

706-87-40103

MOTOR ASS'Y

|$8

706-87-40102

MOTOR ASS'Y

|$9

706-87-40101

MOTOR ASS'Y

|$10

706-77-00030

CYLINDER BLOCK ASS'Y

1

BLOCK

1

706-87-40190

BLOCK,CYLINDER

1

BLOCK,CYLINDER

2

RING,CENTER

2

RING,CENTER

3

706-77-42160

PISTON SUB ASS'Y

4

706-77-42081

SHAFT,CENTER

5

706-77-42110

SPRING

6

706-77-42861

SHAFT,DRIVE

6

706-77-42860

SHAFT,DRIVE

7

706-77-42260

RETAINER

8

706-75-41271

SCREW

9

706-77-42012

CASE,BRAKE

9

706-77-42011

CASE,BRAKE

10

706-77-42881

BEARING

10

706-77-42880

BEARING

11

706-77-42051

SPRING

11

706-77-42050

SPRING

12

706-77-42041

SEAT

12

706-77-42040

SEAT

13

706-77-42890

BEARING

14

706-77-05010

SPACER KIT

14

SPACER, 2.3MM

14

SPACER, 2.5MM

14

SPACER, 2.7MM

14

706-77-42030

SPACER

15

04064-06525

RING,SNAP

16

706-77-42060

COVER

17

07000-02115

O-RING

18

04071-00130

RING,SNAP

19

706-77-42950

SEAL,OIL

19

706-77-42920

SEAL,OIL

20

706-77-91480

PISTON,BRAKE

20

706-77-91381

PISTON,BRAKE

21

706-77-91410

SPRING

22

07000-15220

O-RING

23

07001-05220

RING,BACK-UP

24

07000-15200

O-RING

25

07001-05200

RING,BACK-UP

26

706-77-91341

PLATE

26

4706-77-91341

PLATE

27

706-77-91350

DISC

27

4706-77-91350

DISC

28

706-77-91331

PLATE

29

07000-05250

O-RING

30

706-75-42830

PIN,DOWEL

30

04020-01024

PIN,DOWEL

31

706-87-40812

CASE,MOTOR

31

706-87-40811

CASE,MOTOR

32

706-73-71450

PLUG

33

07002-11423

O-RING

34

706-87-40160

BOLT

35

706-87-00010

END COVER SUB ASS'Y

35

706-87-00030

END COVER SUB A.

36

07000-05200

O-RING

37

07000-12010

O-RING

38

04020-01024

PIN,DOWEL

39

01010-52085

BOLT

40

01643-32060

WASHER

41

706-77-91360

SPACER

Выбрано товаров: 0