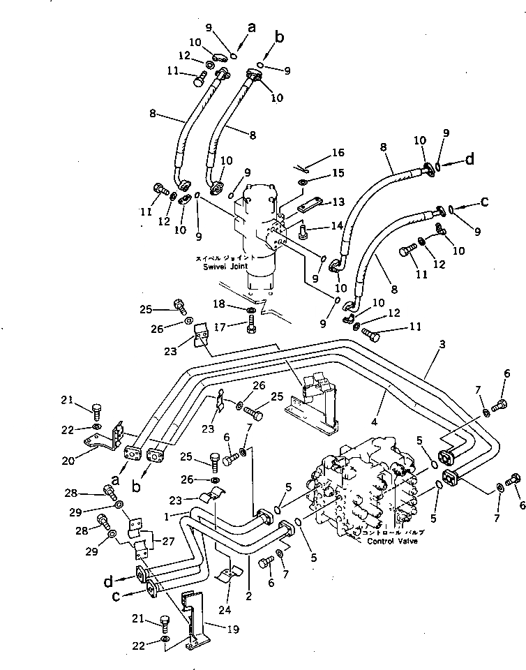
Запчасти Komatsu PC400-3 ГИДРОЛИНИЯ (УПРАВЛЯЮЩ. КЛАПАН TO/FROM ПОВОРОТНОЕ СОЕДИНЕНИЕ) ХОД И КОНЕЧНАЯ ПЕРЕДАЧА

Схема запчастей Komatsu PC400-3 - ГИДРОЛИНИЯ (УПРАВЛЯЮЩ. КЛАПАН TO/FROM ПОВОРОТНОЕ СОЕДИНЕНИЕ) ХОД И КОНЕЧНАЯ ПЕРЕДАЧА
FIT
1:1
100%

Артикул

Название

Примечание

Количество

1

208-62-31131

TUBE

2

208-62-31141

TUBE

3

208-62-31160

TUBE

4

208-62-31150

TUBE

5

21T-09-11470

O-RING

6

07372-21040

BOLT

7

01643-51032

WASHER

8

07098-01006

HOSE

9

07000-13032

O-RING

10

07371-31049

FLANGE,SPLIT

11

07372-21035

BOLT

12

01643-51032

WASHER

13

209-62-14430

PLATE

14

201-60-11230

PIN

15

01643-31645

WASHER

16

04050-14025

PIN,COTTER

17

01010-51235

BOLT

18

01643-31232

WASHER

19

207-62-31641

BRACKET

20

207-62-31651

BRACKET

21

01010-51230

BOLT

22

01643-31232

WASHER

23

207-62-31340

CLAMP

24

207-62-31360

CLAMP

25

01010-51030

BOLT

26

01643-31032

WASHER

27

207-62-31330

CLAMP

28

01010-51030

BOLT

29

01643-31032

WASHER

Выбрано товаров: 0