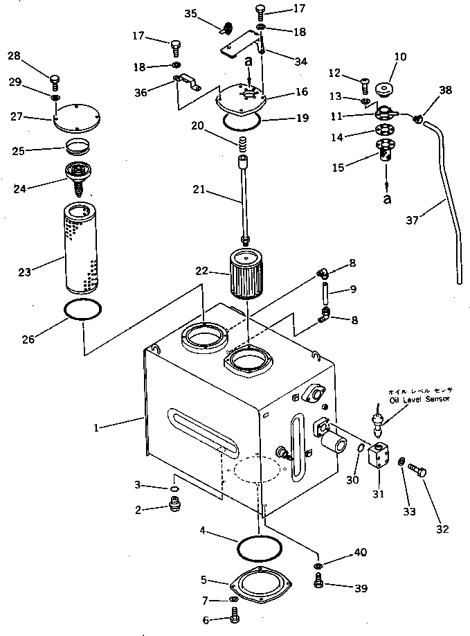
Запчасти Komatsu PC400-3 ГИДРАВЛ МАСЛ. БАК (С ЗАЩИТА ОТ ВАНДАЛИЗМА)(№-9) УПРАВЛ-Е РАБОЧИМ ОБОРУДОВАНИЕМ

Схема запчастей Komatsu PC400-3 - ГИДРАВЛ МАСЛ. БАК (С ЗАЩИТА ОТ ВАНДАЛИЗМА)(№-9) УПРАВЛ-Е РАБОЧИМ ОБОРУДОВАНИЕМ
FIT
1:1
100%

Артикул

Название

Примечание

Количество

|1

207-60-00043

HYDRAULIC TANK ASS'Y

|1

207-60-00042

HYDRAULIC TANK ASS'Y

|1

207-60-00041

HYDRAULIC TANK ASS'Y

1

207-60-31113

TANK

|1

207-60-31112

TANK

2

07044-13620

PLUG

3

07002-03634

O-RING

4

07000-05240

O-RING

5

205-60-71132

COVER

6

01010-51230

BOLT

7

01643-31232

WASHER

8

203-60-31100

ELBOW ASS'Y

9

203-60-31160

TUBE

10

201-60-12190

CAP ASS'Y

11

201-60-12171

FILLER

12

01220-40516

SCREW

13

01601-20513

WASHER,SPRING

14

205-60-51460

GASKET

15

205-60-51480

SCREEN

16

203-60-31192

COVER

17

01010-51035

BOLT

18

01643-31032

WASHER

19

07000-05180

O-RING

20

12R-60-11230

SPRING

21

205-60-71170

SUPPORT

22

205-60-51450

STRAINER

23

205-60-51430

ELEMENT,FILTER

24

12R-60-11300

VALVE ASS'Y

25

12R-60-11390

SPRING

26

07000-05180

O-RING

27

205-60-71141

COVER

28

01010-51230

BOLT

29

01643-31232

WASHER

30

07000-02055

O-RING

31

600-815-3210

CASE

32

01010-51075

BOLT

33

01643-31032

WASHER

34

205-60-71190

COVER

35

205-60-71220

LOCK ASS'Y

36

205-60-71210

BRACKET

37

207-60-11350

TUBE

38

07285-00100

CLIP

|38

07280-01110

CLAMP

39

01010-51635

BOLT

40

01643-31645

WASHER

Выбрано товаров: 45