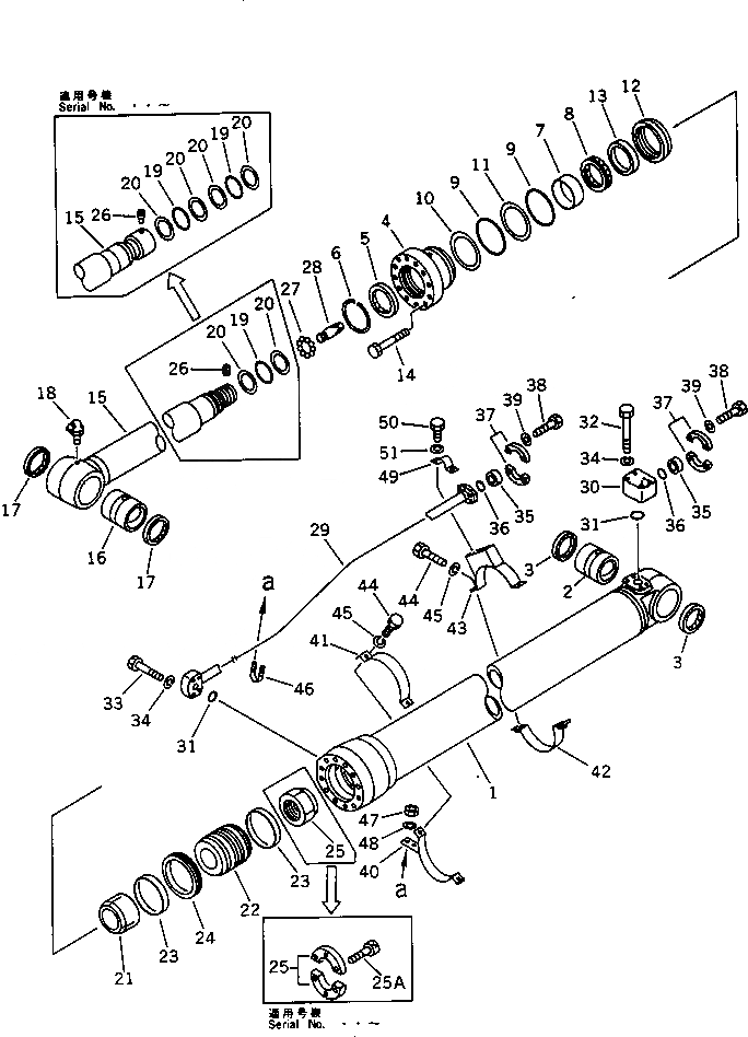
Запчасти Komatsu PC400-3 ЦИЛИНДР РУКОЯТИ(ДЛЯ ЭКСКАВАТ.) УПРАВЛ-Е РАБОЧИМ ОБОРУДОВАНИЕМ

Схема запчастей Komatsu PC400-3 - ЦИЛИНДР РУКОЯТИ(ДЛЯ ЭКСКАВАТ.) УПРАВЛ-Е РАБОЧИМ ОБОРУДОВАНИЕМ
FIT
1:1
100%

Артикул

Название

Примечание

Количество

|1

208-63-62102

ARM CYLINDER ASS'Y

|1

208-63-62101

ARM CYLINDER ASS'Y

|1

208-63-62100

ARM CYLINDER ASS'Y

1

208-63-62140

CYLINDER

2

707-76-11130

BUSHING

3

07145-00110

SEAL,DUST

4

707-28-18370

HEAD,CYLINDER

5

195-63-93170

SEAL,DUST

6

707-75-12010

RING,SNAP

7

07177-01240

BUSHING

8

707-51-12110

PACKING,ROD

9

07000-15175

O-RING

10

707-35-91850

RING,BACK-UP

11

07001-05175

RING,BACK-UP

12

707-71-31250

COLLAR

13

707-71-11250

RING

14

01010-52475

BOLT

15

208-63-62122

ROD,PISTON

|15

208-63-62121

ROD,PISTON

|15

208-63-62120

ROD,PISTON

16

707-76-11130

BUSHING

17

07145-00110

SEAL,DUST

18

07020-00900

FITTING,GREASE

19

07000-12100

O-RING

|19

07000-12095

O-RING

20

707-35-52940

RING,BACK-UP

|20

07001-02095

RING,BACK-UP

21

707-71-51550

PLUNGER

|21

707-71-51250

PLUNGER

22

707-36-18250

PISTON

|22

707-36-18220

PISTON

23

707-39-18820

RING,WEAR

|23

07156-01822

RING,WEAR

24

707-44-18180

RING,PISTON

|24

707-44-18080

RING,PISTON

25

707-40-18870

SPACER

|25

19M-63-52271

NUT

25A

01252-31455

BOLT

26

707-71-91040

SCREW

|26

209-63-66290

SCREW

27

04260-00952

BALL

28

707-71-50351

PLUNGER

29

208-63-62170

TUBE

30

20D-62-17860

ELBOW

31

07000-13035

O-RING

32

01010-51070

BOLT

33

01010-51060

BOLT

34

01602-21030

WASHER,SPRING

35

07378-11000

HEAD

36

07000-13032

O-RING

37

07371-31049

FLANGE,SPLIT

38

07372-21035

BOLT

|38

07372-21030

BOLT

39

01643-51032

WASHER

|39

01602-21030

WASHER,SPRING

40

707-88-99850

BAND

41

707-88-99600

BAND

42

707-88-99840

BAND

43

707-88-99830

BAND

44

01010-51240

BOLT

45

01602-21236

WASHER,SPRING

46

07283-23442

CLIP

47

01599-01011

NUT

48

01643-31032

WASHER

49

07282-03411

CLAMP

50

01010-51025

BOLT

51

01602-21030

WASHER,SPRING

Выбрано товаров: 67