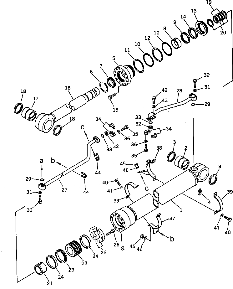
Запчасти Komatsu PC400-3 ЦИЛИНДР СТРЕЛЫ(ДЛЯ ПОГРУЗ.) УПРАВЛ-Е РАБОЧИМ ОБОРУДОВАНИЕМ

Схема запчастей Komatsu PC400-3 - ЦИЛИНДР СТРЕЛЫ(ДЛЯ ПОГРУЗ.) УПРАВЛ-Е РАБОЧИМ ОБОРУДОВАНИЕМ
FIT
1:1
100%

Артикул

Название

Примечание

Количество

|1

208-63-54103

CYLINDER ASS'Y,BOOM¤ L.H.

|1

208-63-54101

CYLINDER ASS'Y,BOOM¤ L.H.

|1

208-63-54203

CYLINDER ASS'Y,BOOM¤ R.H.

|1

208-63-54201

CYLINDER ASS'Y,BOOM¤ R.H.

1

208-63-52140

CYLINDER

2

707-76-10130

BUSHING

3

07145-00100

SEAL,DUST

4

07020-00675

FITTING,GREASE

5

707-28-16380

HEAD,CYLINDER

|5

707-28-16350

HEAD,CYLINDER

6

707-75-11010

RING,SNAP

7

198-63-94170

SEAL,DUST

8

07177-01140

BUSHING

9

707-51-11110

PACKING,ROD

10

07000-15155

O-RING

11

707-35-91650

RING,BACK-UP

12

07001-05155

RING,BACK-UP

13

707-71-31140

COLLAR

14

707-71-11150

RING

15

01010-52070

BOLT

16

208-63-52121

ROD,PISTON

|16

208-63-52120

ROD,PISTON

17

707-76-11130

BUSHING

18

07145-00110

SEAL,DUST

19

07000-12085

O-RING

20

707-35-52830

RING

21

707-71-50110

PLUNGER

22

707-36-16311

PISTON

23

707-44-16080

RING,PISTON

24

07156-01620

RING,WEAR

25

707-40-22070

SPACER

26

01010-31445

BOLT

27

208-72-36421

TUBE,L.H.

|27

208-72-36420

TUBE,L.H.

|27

208-72-36411

TUBE,R.H.

|27

208-72-36410

TUBE,R.H.

28

208-63-54180

TUBE,L.H.

|28

208-63-54280

TUBE,R.H.

29

07000-13035

O-RING

30

01010-51060

BOLT

31

01602-21030

WASHER,SPRING

32

07378-11000

HEAD

33

07000-13032

O-RING

34

07371-31049

FLANGE,SPLIT

35

07372-21035

BOLT

36

01602-21030

WASHER,SPRING

37

707-88-97460

BAND

38

208-72-36720

BAND

39

707-88-99501

BAND

40

01010-51240

BOLT

41

01602-21236

WASHER,SPRING

42

01010-51025

BOLT

43

01643-31032

WASHER

44

07283-23442

CLIP

45

01599-01011

NUT

46

01643-31032

WASHER

Выбрано товаров: 56