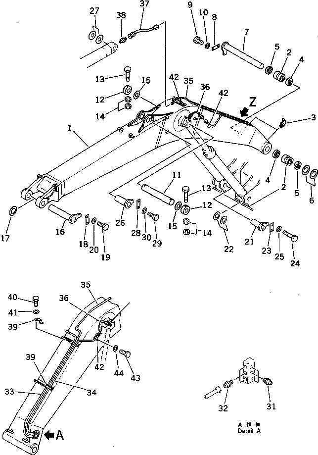
Запчасти Komatsu PC400-3 СТРЕЛА (ДЛЯ ЭКСКАВАТ.) РАБОЧЕЕ ОБОРУДОВАНИЕ

Схема запчастей Komatsu PC400-3 - СТРЕЛА (ДЛЯ ЭКСКАВАТ.) РАБОЧЕЕ ОБОРУДОВАНИЕ
FIT
1:1
100%

Артикул

Название

Примечание

Количество

|1

208-70-00062

BOOM ASS'Y

|1

208-70-00061

BOOM ASS'Y

1

BOOM

|1

BOOM

2

208-70-31220

BUSHING

3

07020-00900

FITTING,GREASE

4

07145-00120

SEAL,DUST

5

07145-00120

SEAL,DUST

6

208-70-31290

SPACER¤ 0.8MM

7

208-70-31160

PIN

8

205-70-61560

PLATE

9

01010-52045

BOLT

10

01643-32060

WASHER

11

208-70-31172

PIN

12

208-70-31242

PLATE

13

207-70-13340

BOLT

14

01580-12419

NUT

15

208-70-31340

SPACER¤ 0.8MM

16

208-70-31180

PIN

17

208-70-31310

SPACER¤ 0.8MM

18

205-70-61560

PLATE

19

01010-52045

BOLT

20

01643-32060

WASHER

21

208-70-31210

PIN

22

207-70-11340

SPACER¤ 0.8MM

23

205-70-66580

PLATE

24

01010-51235

BOLT

25

01643-31232

WASHER

26

208-70-31190

PIN

27

207-70-11360

SPACER¤ 1.0MM

28

205-70-66580

PLATE

29

01010-51235

BOLT

30

01643-31232

WASHER

31

07020-00000

FITTING,GREASE

32

07213-51013

CONNECTOR

33

208-70-31250

TUBE

34

208-70-31270

TUBE

35

208-70-31260

TUBE

36

209-72-16730

HOSE

37

209-72-16580

HOSE

38

205-70-51390

NIPPLE

39

207-70-11770

CLIP

40

01010-50612

BOLT

41

01602-20619

WASHER,SPRING

42

176-43-54580

CLIP

43

01010-51020

BOLT

44

01643-31032

WASHER

Выбрано товаров: 47