Запчасти Komatsu PC400-3 ЭЛЕКТРИКА (КОНДИЦ. ВОЗДУХА) ОПЦИОННЫЕ КОМПОНЕНТЫ

Схема запчастей Komatsu PC400-3 - ЭЛЕКТРИКА (КОНДИЦ. ВОЗДУХА) ОПЦИОННЫЕ КОМПОНЕНТЫ
FIT
1:1
100%

Артикул

Название

Примечание

Количество

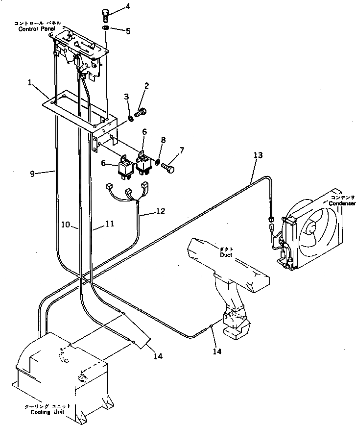
1

205-979-1250

BRACKET

2

01010-50816

BOLT

3

01643-30823

WASHER

4

01010-50816

BOLT

5

01643-30823

WASHER

6

205-979-6460

RELAY ASS'Y

7

01010-50816

BOLT

8

01643-30823

WASHER

9

205-979-1170

CABLE

10

205-979-1160

CABLE

11

205-979-1150

CABLE

12

205-979-1330

WIRING HARNESS

13

207-979-3330

WIRING HARNESS

14

195-979-4160

BUSHING

Выбрано товаров: 14