Запчасти Komatsu PC400-3 УДЛИНН. РЫЧАГ УПРАВЛ-Е И СТОЙКА¤ ПРАВ. (/)(ДЛЯ НИЖН. ПОГРУЗ.) ПОВОРОТН. И СИСТЕМА УПРАВЛЕНИЯ

Схема запчастей Komatsu PC400-3 - УДЛИНН. РЫЧАГ УПРАВЛ-Е И СТОЙКА¤ ПРАВ. (/)(ДЛЯ НИЖН. ПОГРУЗ.) ПОВОРОТН. И СИСТЕМА УПРАВЛЕНИЯ
FIT
1:1
100%

Артикул

Название

Примечание

Количество

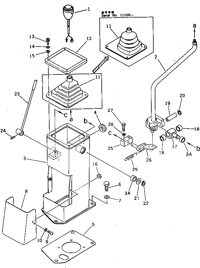
1

209-43-13442

SWITCH

2

205-43-73330

LEVER

|3

205-43-00033

STAND ASS'Y,R.H.

3

STAND,R.H.

3A

195-61-34120

BEARING

4

09415-02512

CAP

5

205-43-73111

PLATE

6

01010-51235

BOLT

7

01643-31232

WASHER

8

205-43-73141

COVER

9

01220-40616

SCREW

10

01643-30623

WASHER

11

205-43-72622

BELLOWS

|11

205-43-72621

BELLOWS

12

205-43-72530

COVER

13

205-06-62170

BOLT

14

205-06-62180

WASHER

15

205-06-62190

WASHER

16

08037-01008

GROMMET

17

205-43-72930

SHAFT

18

195-61-34120

BEARING

19

205-43-72940

PIN

20

04065-01610

RING,SNAP

21

205-970-1710

SHIM

22

04064-01610

RING,SNAP

23

205-43-72880

LEVER

24

04025-00520

PIN,SPRING

25

205-43-62330

BLOCK

26

205-43-72591

LEVER

27

01010-50840

BOLT

28

01643-30823

WASHER

29

203-43-21370

SPRING

Выбрано товаров: 32